|
|
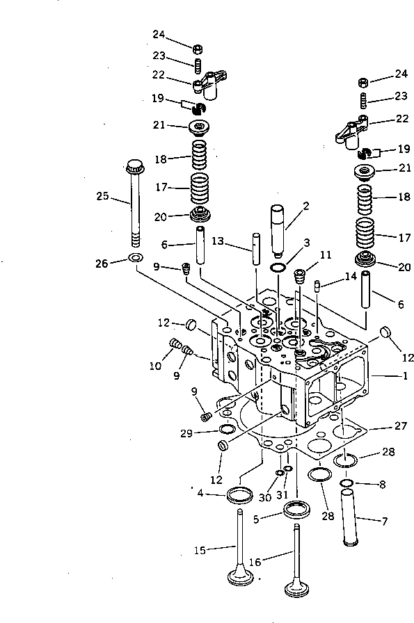
|1 |
6162-13-1103
|
CYLINDER HEAD ASS'Y,VALVE LESS |
6 |
SN: 17348-UP
|
|
|
|
|1 |
6162-13-1102
|
CYLINDER HEAD ASS'Y,VALVE LESS |
6 |
SN: 15370-17347
|
|
|
|
|1 |
6162-13-1100
|
CYLINDER HEAD ASS'Y,VALVE LESS |
6 |
SN: 14674-15369
|
|
|
|
1 |
|
HEAD,CYLINDER |
1 |
SN: 14674-UP
|
|
|
|
2 |
6162-13-1130
|
SLEEVE |
1 |
SN: 14674-UP
|
|
|
|
3 |
6162-12-1152
|
O-RING (K1) |
1 |
SN: 14674-UP
|
|
|
|
4 |
6162-15-1370
|
INSERT,INTAKE VALVE (STD) |
2 |
SN: 17348-UP
|
|
|
|
|4 |
6162-13-1330
|
INSERT,INTAKE VALVE (STD) |
2 |
SN: 14674-17347
|
|
|
|
|4 |
6162-19-1370
|
INSERT¤ 0.25MM,INTAKE VALVE (OS) |
2 |
SN: 17348-UP
|
|
|
|
|4 |
6162-19-1330
|
INSERT¤ 0.25MM,INTAKE VALVE (OS) |
2 |
SN: 14674-17347
|
|
|
|
|4 |
6162-18-1370
|
INSERT¤ 0.50MM,INTAKE VALVE (OS) |
2 |
SN: 17348-UP
|
|
|
|
|4 |
6162-18-1330
|
INSERT¤ 0.50MM,INTAKE VALVE (OS) |
2 |
SN: 14674-17347
|
|
|
|
|4 |
6162-17-1370
|
INSERT¤ 0.75MM,INTAKE VALVE (OS) |
2 |
SN: 17348-UP
|
|
|
|
|4 |
6162-17-1330
|
INSERT¤ 0.75MM,INTAKE VALVE (OS) |
2 |
SN: 14674-17347
|
|
|
|
|4 |
6162-16-1370
|
INSERT¤ 1.00MM,INTAKE VALVE (OS) |
2 |
SN: 17348-UP
|
|
|
|
|4 |
6162-16-1330
|
INSERT¤ 1.00MM,INTAKE VALVE (OS) |
2 |
SN: 14674-17347
|
|
|
|
5 |
6162-13-1322
|
INSERT,EXHAUST VALVE (STD) |
2 |
SN: 15370-UP
|
|
|
|
|5 |
6162-13-1321
|
INSERT,EXHAUST VALVE (STD) |
2 |
SN: 14674-15369
|
|
|
|
|5 |
6162-19-1322
|
INSERT¤ 0.25MM,EXHAUST VALVE (OS) |
2 |
SN: 15370-UP
|
|
|
|
|5 |
6162-19-1321
|
INSERT¤ 0.25MM,EXHAUST VALVE (OS) |
2 |
SN: 14674-15369
|
|
|
|
|5 |
6162-18-1322
|
INSERT¤ 0.50MM,EXHAUST VALVE (OS) |
2 |
SN: 15370-UP
|
|
|
|
|5 |
6162-18-1321
|
INSERT¤ 0.50MM,EXHAUST VALVE (OS) |
2 |
SN: 14674-15369
|
|
|
|
|5 |
6162-17-1322
|
INSERT¤ 0.75MM,EXHAUST VALVE (OS) |
2 |
SN: 15370-UP
|
|
|
|
|5 |
6162-17-1321
|
INSERT¤ 0.75MM,EXHAUST VALVE (OS) |
2 |
SN: 14674-15369
|
|
|
|
|5 |
6162-16-1322
|
INSERT¤ 1.00MM,EXHAUST VALVE (OS) |
2 |
SN: 15370-UP
|
|
|
|
|5 |
6162-16-1321
|
INSERT¤ 1.00MM,EXHAUST VALVE (OS) |
2 |
SN: 14674-15369
|
|
|
|
6 |
6162-16-1341
|
GUIDE,VALVE |
4 |
SN: 14674-UP
|
|
|
|
7 |
6162-13-1160
|
TUBE,PUSH ROD |
2 |
SN: 14674-UP
|
|
|
|
8 |
07000-63028
|
O-RING (K1) |
2 |
SN: 14674-UP
|
|
|
|
9 |
07043-50108
|
PLUG |
4 |
SN: 14674-UP
|
|
|
|
10 |
07043-50211
|
PLUG |
1 |
SN: 14674-UP
|
|
|
|
11 |
07043-50617
|
PLUG |
5 |
SN: 14674-UP
|
|
|
|
12 |
6162-13-1150
|
PLUG,EXPANSION |
12 |
SN: 14674-UP
|
|
|
|
13 |
6162-13-1140
|
GUIDE,CROSSHEAD |
2 |
SN: 14674-UP
|
|
|
|
14 |
6162-13-1410
|
PIN,DOWEL |
2 |
SN: 14674-UP
|
|
|
|
15 |
6162-43-4110
|
VALVE,INTAKE |
12 |
SN: 14674-UP
|
|
|
|
16 |
6164-41-4211
|
VALVE,EXHAUST |
12 |
SN: 14674-UP
|
|
|
|
17 |
6162-43-4440
|
SPRING,VALVE¤ OUTER |
24 |
SN: 19437-UP
|
|
|
|
|17 |
6162-43-4410
|
SPRING,VALVE¤ OUTER |
24 |
SN: 14674-19436
|
|
|
|
18 |
6162-43-4420
|
SPRING,VALVE¤ INNER |
24 |
SN: 14674-UP
|
|
|
|
19 |
6240-41-4520
|
COTTER,VALVE |
48 |
SN: 22195-UP
|
|
|
|
|19 |
6162-42-4520
|
COTTER,VALVE |
48 |
SN: 14674-22194
|
|
|
|
20 |
6162-43-4430
|
SEAT,SPRING¤ LOWER |
24 |
SN: 14674-UP
|
|
|
|
21 |
6162-43-4510
|
SEAT,SPRING¤ UPPER |
24 |
SN: 14674-UP
|
|
|
|
22 |
6162-43-5610
|
CROSSHEAD |
12 |
SN: 14674-UP
|
|
|
|
23 |
6162-43-5640
|
SCREW,ADJUST |
12 |
SN: 14674-UP
|
|
|
|
24 |
6127-41-5630
|
NUT,LOCK |
12 |
SN: 14674-UP
|
|
|
|
25 |
6162-15-1610
|
BOLT,HEAD |
36 |
SN: 18185-UP
|
|
|
|
|25 |
6162-13-1611
|
BOLT,HEAD |
36 |
SN: 14674-18184
|
|
|
|
26 |
6162-13-1620
|
WASHER |
36 |
SN: 14674-UP
|
|
|
|
27 |
6162-13-1812
|
GASKET,HEAD (K1) |
6 |
SN: 14674-UP
|
|
|
|
28 |
6162-13-1820
|
GROMMET,OIL |
2 |
SN: 14674-UP
|
|
|
|
29 |
6162-13-1832
|
GROMMET,WATER |
1 |
SN: 14674-UP
|
|
|
|
30 |
6162-13-1840
|
GROMMET,OIL |
1 |
SN: 14674-UP
|
|
|
|
31 |
6162-13-1851
|
GROMMET,WATER |
1 |
SN: 14674-UP
|
|