Find books across the catalog from one place.
This page is prepared as the search workspace. The search behavior itself can be connected in the next step.
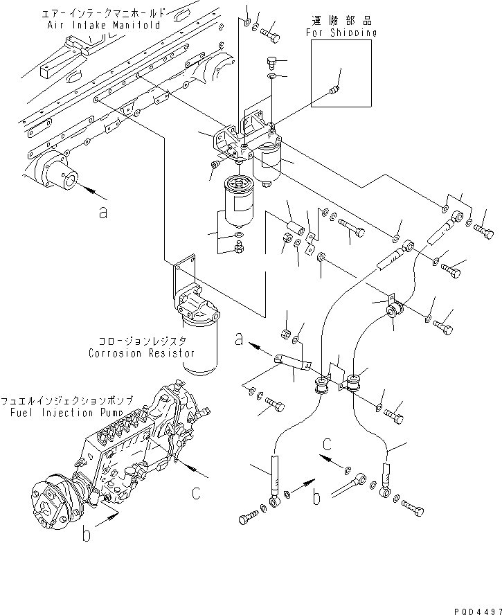
6212611203.FUEL FILTER(#15707-18733) (A4110-A6B2) in S6D170-1G-W S/N 14674-UP (For Canada / China / Chile / Russia). Diagram image and parts list.
Test text. Dear users! Access to the special equipment catalogs is paid. You can review the service usage rules and tariffs on the page!