|
|
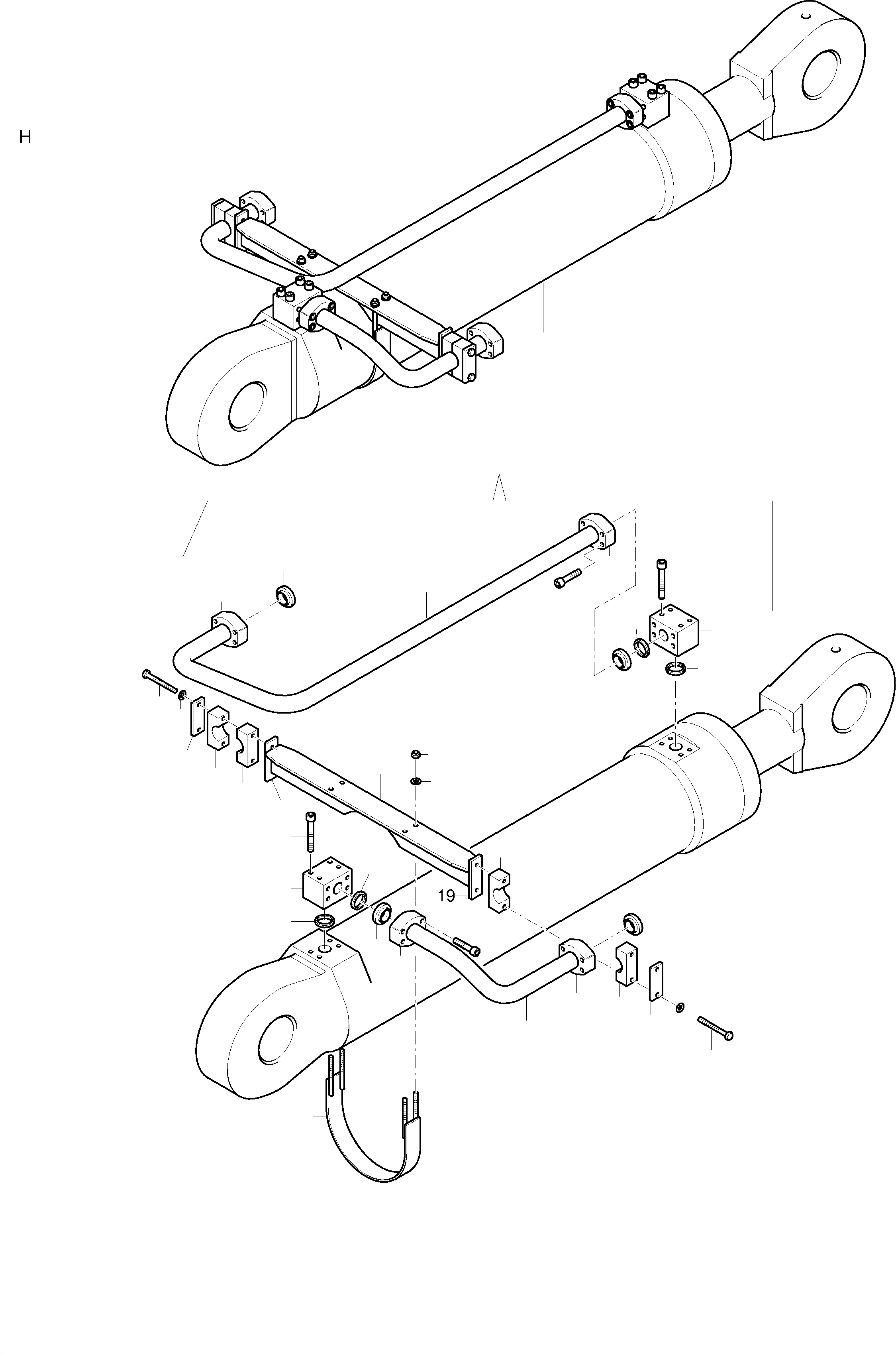
01 |
|
Cylinder with pipes assy.
fig-nos: 02 and 03 |
1 |
|
|
|
|
02 |
|
Hydr.-cylinder |
1 |
InternKon: 456 194 40 / 1
|
065-4176b1 |
|
|
03 |
659 031 40
|
Pipes assy. |
1 |
InternBDB: E-ST | InternKon: 456 194 40 / 2
|
|
|
|
04 |
463 863 40
|
Clamp clip |
1 |
InternKon: 659 031 40 / 1
|
|
|
|
05 |
456 188 40
|
Retainer |
1 |
InternKon: 659 031 40 / 2
|
|
|
|
06 |
513 302 98
|
Connecting block |
2 |
InternBDB: 1 1/2 WN 341 990 40 | InternKon: 659 031 40 / 3
|
|
|
|
07 |
502 977 98
|
Clamp |
4 |
InternBDB: S-4-G-50 /3015 | InternKon: 659 031 40 / 6
|
|
|
|
08 |
765 992 73
|
Pipe assy. Ш 50 |
1 |
InternBDB: 659 029 40 | InternKon: 659 031 40 / 4
|
|
|
|
09 |
765 993 73
|
Pipe assy. Ш 50 |
1 |
InternBDB: 659 034 40 | InternKon: 659 031 40 / 5
|
|
|
|
10 |
500 127 98
|
Flange |
4 |
InternBDB: FE-5000-24/6 | InternKon: 659 031 40 / 9
|
|
|
|
11 |
501 898 98
|
Collar ring |
2 |
InternBDB: K-5060-24 | InternKon: 659 031 40 / 11
|
|
|
|
12 |
500 203 98
|
Collar ring |
2 |
InternBDB: KO-5060-24 | InternKon: 659 031 40 / 10
|
|
|
|
13 |
308 599 99
|
Bolt |
4 |
InternBDB: M12x105 /931 | InternKon: 659 031 40 / 15
|
|
|
|
14 |
319 193 99
|
Bolt |
8 |
InternBDB: M16x110 /912 | InternKon: 659 031 40 / 14
|
|
|
|
15 |
334 600 99
|
Nut |
4 |
InternBDB: M 12 /985 | InternKon: 659 031 40 / 17
|
|
|
|
16 |
343 006 99
|
Washer |
4 |
InternBDB: 13 /93 | InternKon: 659 031 40 / 16
|
|
|
|
17 |
356 209 40
|
Quadring |
4 |
InternBDB: 1 1/2 WN 341 986 40 | InternKon: 659 031 40 / 12
|
|
|
|
18 |
534 008 99
|
Plate |
2 |
InternBDB: DS 6 | InternKon: 659 031 40 / 7
|
|
|
|
19 |
534 009 99
|
Plate |
2 |
InternBDB: ES 6 | InternKon: 659 031 40 / 8
|
|
|
|
20 |
319 299 99
|
Bolt |
8 |
InternBDB: M16x60 /912 10.9 | InternKon: 659 031 40 / 13
|
|
|
|
21 |
340 467 99
|
Washer |
4 |
InternBDB: 13 /125 | InternKon: 659 031 40 / 18
|
|