|
|
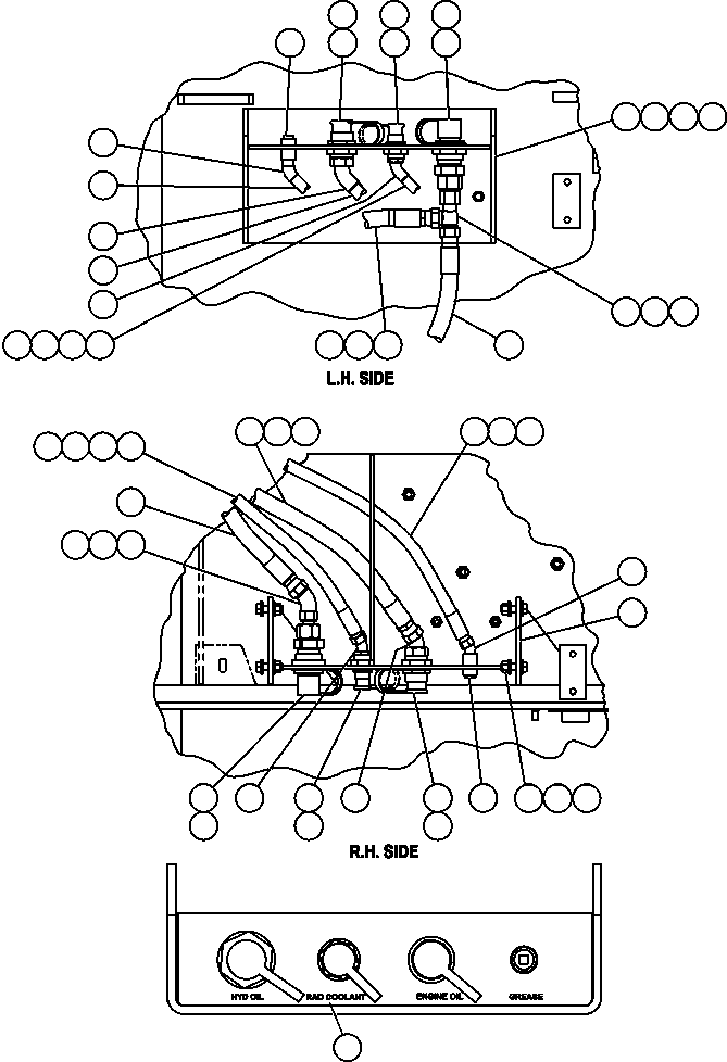
1 |
EJ6559
|
MOUNT |
2 |
|
|
|
|
2 |
MM0620
|
CAPSCREW - M12 X 1.75 X 40 |
8 |
|
|
|
|
3 |
MM0714
|
FLAT WASHER - M12 (HARDENED) |
16 |
|
|
|
|
4 |
MM0179
|
NUT - M12 X 1.75 |
8 |
|
|
|
|
5 |
PB9213
|
RECEIVER ASSEMBLY (HYDRAULIC OIL) |
2 |
|
|
|
|
6 |
WB0948
|
LOCKNUT, BULKHEAD |
2 |
|
|
|
|
7 |
WB0386
|
FITTING, TEE |
1 |
|
|
|
|
8 |
WB0364
|
FITTING, STRAIGHT |
2 |
|
|
|
|
9 |
WB0600
|
FITTING, STRAIGHT |
2 |
|
|
|
|
10 |
WB0369
|
FITTING, ELBOW - 45 DEG |
1 |
|
|
|
|
11 |
HA6322
|
HOSE (L.H. SERVICE TO R.H. SERVICE) |
1 |
|
|
|
|
12 |
HA7511
|
HOSE (TO HYDRAULIC TANK) |
1 |
|
|
|
|
13 |
TC8757
|
BUSHING, PIPE (AT HYDRAULIC TANK) |
1 |
|
|
|
|
14 |
WA2919
|
FITTING, ELBOW - 90 DEG (AT HYDRAULIC TANK) |
1 |
|
|
|
|
15 |
PB9211
|
RECEIVER ASSEMBLY (COOLANT) |
2 |
|
|
|
|
16 |
WB0945
|
LOCKNUT, BULKHEAD - 1 3/16" |
2 |
|
|
|
|
17 |
WB0538
|
FITTING, ELBOW - 45 DEG |
2 |
|
|
|
|
18 |
HA2363
|
HOSE (TO RADIATOR) |
2 |
|
|
|
|
19 |
WB0265
|
FITTING, ELBOW - 90 DEG (AT RADIATOR) |
2 |
|
|
|
|
20 |
PB9858
|
ADAPTER, METRIC (AT RADIATOR) |
2 |
|
|
|
|
21 |
ED9901
|
RING, SEAL (AT RADIATOR) |
2 |
|
|
|
|
22 |
PB9212
|
RECEIVER ASSEMBLY (ENGINE OIL) |
2 |
|
|
|
|
23 |
WB0947
|
LOCKNUT, BULKHEAD - 1 5/8" |
2 |
|
|
|
|
24 |
WB0543
|
FITTING, ELBOW - 45 DEG |
2 |
|
|
|
|
25 |
HA5746
|
HOSE - L.H. (TO ENGINE OIL RESERVE TANK) |
1 |
|
|
|
|
26 |
HA0914
|
HOSE - R.H. (TO ENGINE OIL RESERVE TANK) |
1 |
|
|
|
|
27 |
WB0386
|
FITTING, TEE (AT ENGINE OIL RESERVE TANK) |
1 |
|
|
|
|
28 |
WB0377
|
FITTING, ELBOW - 90 DEG (AT ENGINE OIL RESERVE TANK) |
1 |
|
|
|
|
29 |
C5771
|
PLUG, PIPE (GREASE) |
2 |
|
|
|
|
30 |
WB0292
|
FITTING, ELBOW - 45 DEG |
2 |
|
|
|
|
31 |
HA1223
|
HOSE - L.H. (TO AUTO LUBE PUMP / CONTAINER) |
1 |
|
|
|
|
32 |
HA0544
|
HOSE - R.H. (TO AUTO LUBE PUMP / CONTAINER) |
1 |
|
|
|
|
33 |
WB0384
|
FITTING, TEE (AT AUTO LUBE PUMP / CONTAINER) |
1 |
|
|
|
|
34 |
WB0375
|
FITTING, ELBOW - 90 DEG (AT AUTO LUBE PUMP / CONTAINER) |
1 |
|
|
|
|
35 |
EK7400
|
DECAL, SERVICE CENTER |
2 |
|
|
|
|
NS|36 |
|
NOTE: NS = NOT SHOWN |
-1 |
|
|
|
|
NS|37 |
TR9441
|
CLAMP, VINYL - 1 1/4" I.D. |
9 |
|
|
|
|
NS|38 |
TR3662
|
CLAMP, VINYL - 2 3/4" I.D. |
4 |
|
|
|
|
NS|39 |
TG2568
|
CLAMP, VINYL - 7/8" I.D. |
4 |
|
|