|
|
? |
|
Idler assy. |
2 |
InternBDB: 575 630 40 | InternKon: 575 645 40 / 1
|
515-3115 |
|
|
? |
|
Tensioner |
4 |
InternBDB: 607 712 40 | InternKon: 575 645 40 / 8
|
515-3112 |
|
|
? |
594 062 40
|
Plate |
4 |
InternKon: 575 645 40 / 9
|
|
|
|
? |
308 324 99
|
Bolt |
32 |
InternBDB: M24x80 /931 | InternKon: 575 645 40 / 22
|
|
|
|
? |
316 213 99
|
Washer |
32 |
InternBDB: 25 /6916 | InternKon: 575 645 40 / 29
|
|
|
|
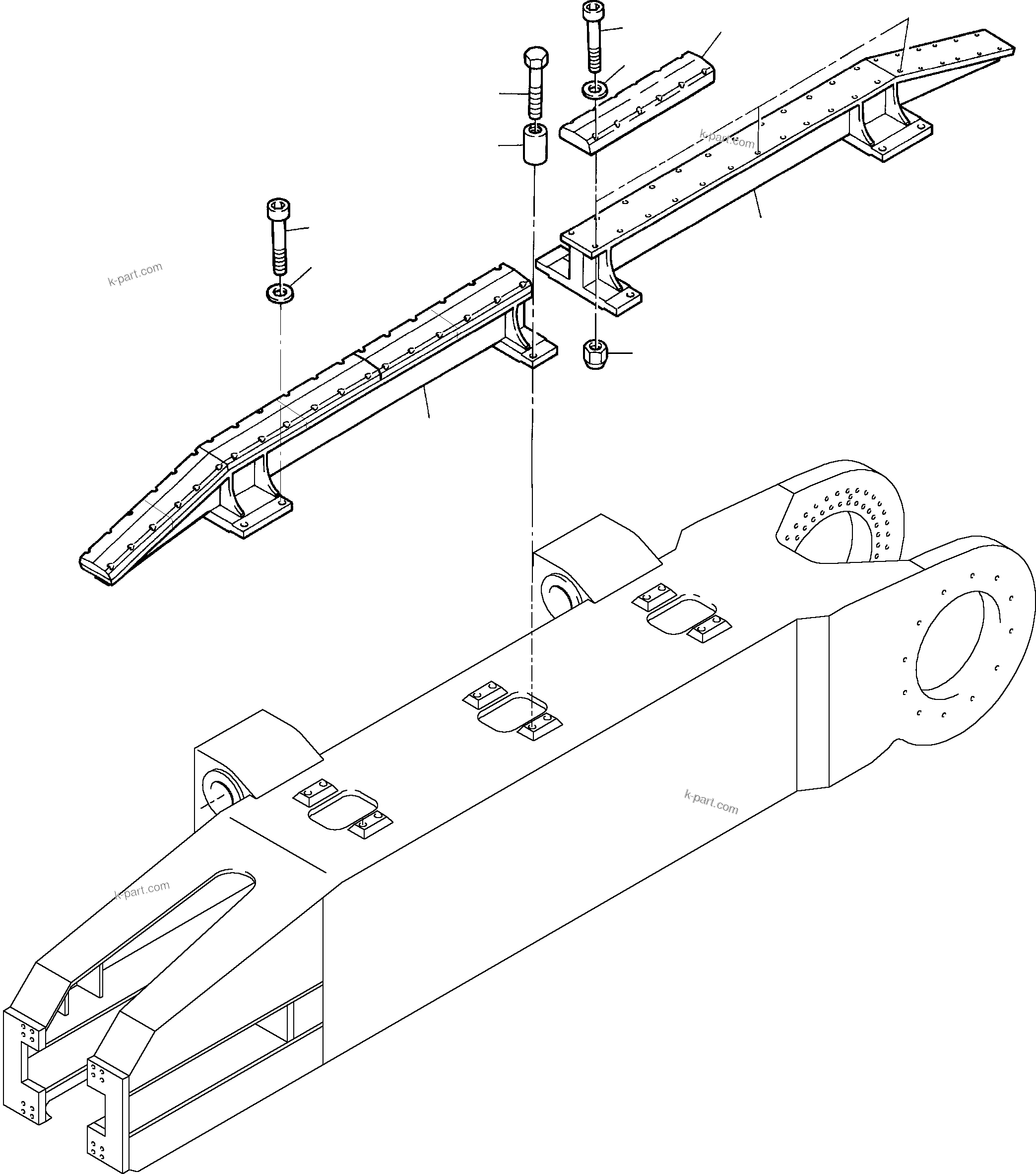
? |
|
Rail support assy. |
6 |
InternKon: KO-Liste 608 735 40 / 16
|
|
|
|
? |
255 057 40
|
Washer |
56 |
InternBDB: 31 /6916 | InternKon: 575 645 40 / 28
|
|
|
|
? |
|
Track roller |
14 |
InternBDB: 643 410 40 | InternKon: 575 645 40 / 02
|
515-3135a |
|
|
? |
510 515 98
|
Bolt |
56 |
InternBDB: M30x260 /931 | InternKon: 575 645 40 / 51
|
|
|
|
? |
637 575 40
|
Bushing |
16 |
InternKon: 575 645 40 / 57
|
|
|
|
? |
599 095 40
|
Rail support assy. |
4 |
InternKon: 599 082 40 / 1
|
|
|
|
? |
511 865 98
|
Resilient sleeve |
8 |
InternBDB: 31/60x35 | InternKon: 599 082 40 / 2
|
|
|
|
? |
308 389 99
|
Bolt |
16 |
InternBDB: M30x100 /931 | InternKon: 599 082 40 / 3
|
|
|
|
? |
502 213 98
|
Bolt |
8 |
InternBDB: M30x140 /931 | InternKon: 599 082 40 / 4
|
|
|
|
? |
255 057 40
|
Washer |
16 |
InternBDB: 31 /6916 | InternKon: 599 082 40 / 5
|
|
|
|
? |
599 083 40
|
Rail support |
4 |
InternKon: 599 095 40 / 1
|
|
|
|
? |
599 091 40
|
Slider |
24 |
InternKon: 599 095 40 / 2
|
|
|
|
? |
319 191 99
|
Bolt |
144 |
InternBDB: M16x80 /912 | InternKon: 599 095 40 / 3
|
|
|
|
? |
334 601 99
|
Nut |
144 |
InternBDB: M 16 /985 | InternKon: 599 095 40 / 4
|
|
|
|
? |
316 211 99
|
Washer |
144 |
InternBDB: 17 /6916 | InternKon: 599 095 40 / 5
|
|