|
|
? |
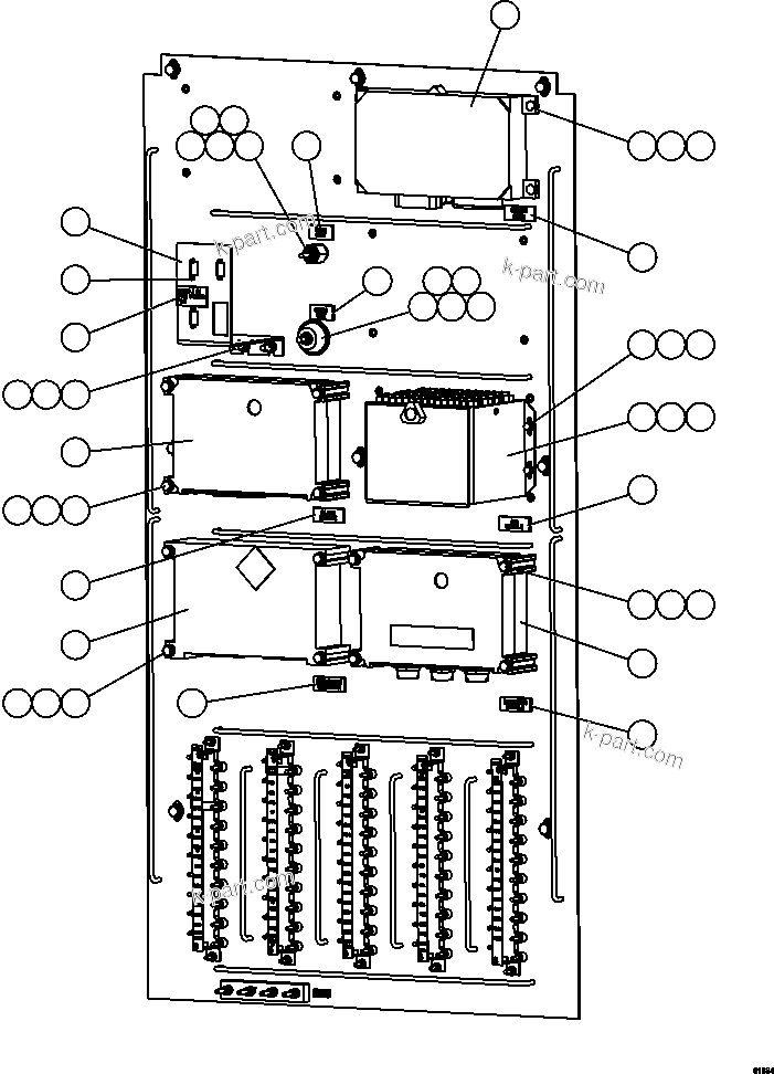
7826-12-2302
|
CONTROLLER, ORBCOMM |
1 |
|
|
|
|
? |
WB2879
|
NAME PLATE - ORBCOMM MODEM |
1 |
|
|
|
|
? |
MM0594
|
CAPSCREW - M8 X 1.25 X 25 |
4 |
|
|
|
|
? |
MM0470
|
LOCKWASHER - M8 |
18 |
|
|
|
|
? |
MM0460
|
FLAT WASHER - M8 |
18 |
|
|
|
|
? |
EK6252
|
NAME PLATE - 5VDC DIST |
1 |
|
|
|
|
? |
TA7409
|
INSULATOR, STAND-OFF |
1 |
|
|
|
|
? |
ED0913
|
ROD, THREADED - 1/4" |
1 |
|
|
|
|
? |
TD1549
|
NUT - 1/4" - 20NC |
1 |
|
|
|
|
? |
DC3584
|
LOCKWASHER - 1/4" |
2 |
|
|
|
|
? |
TR1307
|
FLAT WASHER - 1/4" |
2 |
|
|
|
|
? |
EK6251
|
NAME PLATE - 18VDC DIST |
1 |
|
|
|
|
? |
PB7202
|
INSULATOR, GLASTIC |
1 |
|
|
|
|
? |
ED7468
|
ROD, THREADED - 5/16" |
1 |
|
|
|
|
? |
TD1684
|
NUT - 5/16" - 18NC |
1 |
|
|
|
|
? |
SC4174
|
LOCKWASHER - 5/16" |
2 |
|
|
|
|
? |
TV0177
|
FLAT WASHER - 5/16" |
2 |
|
|
|
|
? |
EK0742
|
BRACKET |
1 |
|
|
|
|
? |
MM0177
|
NUT - M8 X 1.25 |
2 |
|
|
|
|
? |
WB3655
|
NAME PLATE - DATA PORTS |
1 |
|
|
|
|
? |
PB8256
|
SCREWLOCK, FEMALE |
3 |
|
|
|
|
? |
PC1810
|
A.I.D. MODULE (SEE INDEX) |
1 |
|
55673 |
|
|
? |
PC0040
|
CARD, OIL LEVEL/TEMPERATURE |
1 |
|
|
|
|
? |
VJ9025
|
CARD, DUAL HOT SWITCH INVERTER |
1 |
|
|
|
|
? |
EK3933
|
NAME PLATE - AID |
1 |
|
|
|
|
? |
MM0019
|
CAPSCREW - M6 X 1.00 X 16 |
4 |
|
|
|
|
? |
MM0469
|
LOCKWASHER - M6 |
4 |
|
|
|
|
? |
MM0459
|
FLAT WASHER - M6 |
4 |
|
|
|
|
? |
EJ3060
|
PAYLOAD METER III ASSEMBLY |
1 |
|
|
|
|
? |
EK3934
|
NAME PLATE - PLM III |
1 |
|
|
|
|
? |
MM0401
|
CAPSCREW - M8 X 1.25 X 90 |
12 |
|
|
|
|
? |
EJ9089
|
INTERFACE MODULE (UNPROGRAMMED) |
1 |
|
|
|
|
? |
EK2723
|
NAME PLATE - INTERFACE MODULE |
1 |
|
|
|
|
? |
7826-17-4501
|
CONTROLLER, KOMTRAX PLUS |
1 |
|
|
|
|
? |
WB2838
|
NAME PLATE - VHMS COMMON CONTROLLER |
1 |
|
|