|
|
|$$1 |
|
Graphic 1 |
-1 |
|
|
|
|
01 |
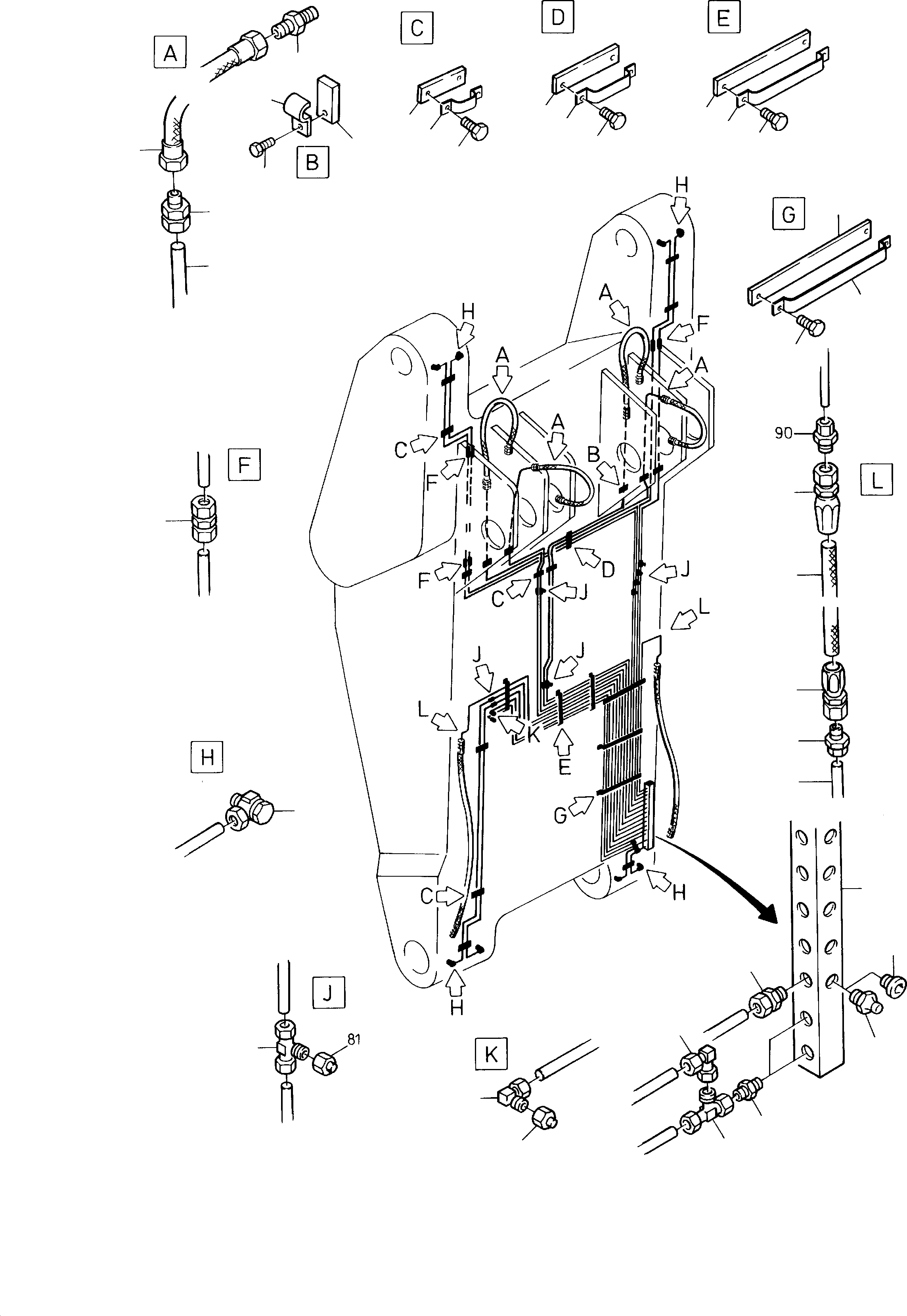
449 845 40
|
Stick, assy. |
1 |
InternBDB: SK 449 840 40 | InternKon: KO-372 986 40 / 16
|
|
|
|
02 |
696 465 73
|
Stick with bushes |
1 |
InternBDB: E-St
|
|
|
|
03 |
696 466 73
|
Stick with bushes and pipes |
1 |
InternBDB: E-St
|
|
|
|
04 |
772 345 73
|
Pipe assy. Ш 65 |
2 |
InternBDB: 456 802 40 | InternKon: 449 845 40 / 68
|
|
|
|
05 |
772 346 73
|
Pipe assy. Ш 65 |
1 |
InternBDB: 456 801 40 | InternKon: 449 845 40 / 67
|
|
|
|
06 |
772 347 73
|
Pipe assy. Ш 38 |
2 |
InternBDB: 456 804 40 | InternKon: 449 845 40 / 70
|
|
|
|
07 |
534 009 99
|
Weld on plate |
3 |
InternBDB: ES6 | InternKon: 449 845 40 / 15
|
|
|
|
08 |
504 445 98
|
Half clamp |
6 |
InternBDB: CS6/65 011 839 99 | InternKon: 449 845 40 / 13
|
|
|
|
09 |
534 008 99
|
Cover plate |
6 |
InternBDB: DS6 011 839 99 | InternKon: 449 845 40 / 16
|
|
|
|
10 |
343 006 99
|
Locking plate |
12 |
InternBDB: 13/93 | InternKon: 449 845 40 / 18
|
|
|
|
11 |
308 459 99
|
Bolt |
12 |
InternBDB: M12x100/931- 10.9 | InternKon: 449 845 40 / 17
|
|
|
|
12 |
504 446 98
|
Half clamp |
4 |
InternBDB: H-CS6/65 011 839 99 | InternKon: 449 845 40 / 14
|
|
|
|
13 |
504 004 98
|
Half clamp |
8 |
InternBDB: CS6/38 011 839 99 | InternKon: 449 845 40 / 12
|
|
|
|
14 |
515 667 40
|
Hose assy. DN 40x3250 lg. |
1 |
InternBDB: TL | InternKon: 449 845 40 / 35
|
|
|
|
15 |
440 784 40
|
Hose assy. DN 40x2300 lg. |
2 |
InternBDB: TL | InternKon: 449 845 40 / 34
|
|
|
|
16 |
332 338 99
|
Nut |
16 |
InternBDB: M20/934 | InternKon: 449 845 40 / 24
|
|
|
|
18 |
319 313 99
|
Bolt |
16 |
InternBDB: M20x120/912- 10.9 | InternKon: 449 845 40 / 23
|
|
|
|
19 |
504 448 98
|
Flange |
6 |
InternBDB: FE-6500-32/6 | InternKon: 449 845 40 / 19
|
|
|
|
20 |
504 449 98
|
Collar ring |
4 |
InternBDB: KO-6580-32 | InternKon: 449 845 40 / 20
|
|
|
|
21 |
385 243 40
|
Tetra seal |
6 |
InternBDB: Bu. u. Lu. FR76-6299- 2200 | InternKon: 449 845 40 / 22
|
|
|
|
22 |
319 209 99
|
Bolt |
16 |
InternBDB: M14x45/933- 10.9 | InternKon: 449 845 40 / 33
|
|
|
|
25 |
500 129 98
|
Flange |
4 |
InternBDB: FE-3800-20/6 | InternKon: 449 845 40 / 26
|
|
|
|
26 |
500 202 98
|
Collar ring |
2 |
InternBDB: KO-3850-20 | InternKon: 449 845 40 / 28
|
|
|
|
28 |
332 226 99
|
Nut |
16 |
InternBDB: M14/934 | InternKon: 449 845 40 / 32
|
|
|
|
29 |
504 699 98
|
Bolt |
8 |
InternBDB: M20x85/912 | InternKon: 449 845 40 / 25
|
|
|
|
30 |
504 461 98
|
Collar ring |
2 |
InternBDB: K-6580-32 | InternKon: 449 845 40 / 21
|
|
|
|
31 |
501 871 98
|
Collar ring |
4 |
InternBDB: K-3850-20 | InternKon: 449 845 40 / 29
|
|
|
|
33 |
173 495 40
|
Screw plug |
2 |
InternBDB: vsti 48x2-ed | InternKon: 449 845 40 / 50
|
|
|
|
34 |
168 474 40
|
Screw plug |
4 |
InternBDB: vsti 42x2-ed | InternKon: 449 845 40 / 51
|
|
|
|
36 |
145 826 40
|
Half flange |
8 |
InternBDB: 32/420 | InternKon: 449 845 40 / 27
|
|
|
|
37 |
006 725 98
|
O-ring |
6 |
InternBDB: 37,7x3,53/90 011 745 99 | InternKon: 449 845 40 / 30
|
|
|
|
38 |
319 486 99
|
Bolt |
16 |
InternBDB: M14x70/912- 10.9 | InternKon: 449 845 40 / 31
|
|
|
|
|$$34 |
|
Graphic 2 |
-1 |
|
|
|
|
41 |
772 347 73
|
Pipe assy. Ш 38 |
2 |
InternBDB: 456 804 40 | InternKon: 449 845 40 / 70
|
|
|
|
42 |
772 348 73
|
Pipe assy. Ш 65 |
1 |
InternBDB: 456 803 40 | InternKon: 449 845 40 / 69
|
|
|
|
43 |
440 784 40
|
Hose assy. DN 40x2300 lg. |
2 |
InternBDB: TL | InternKon: 449 845 40 / 34
|
|
|
|
44 |
515 667 40
|
Hose assy. DN 40x3250 lg. |
1 |
InternBDB: TL | InternKon: 449 845 40 / 35
|
|
|
|
45 |
534 009 99
|
Weld on plate |
2 |
InternBDB: ES6 011 839 99 | InternKon: 449 845 40 / 15
|
|
|
|
46 |
504 445 98
|
Half clamp |
2 |
InternBDB: CS6/65 011 839 99 | InternKon: 449 845 40 / 13
|
|
|
|
47 |
534 008 99
|
Cover plate |
5 |
InternBDB: DS6 011 839 99 | InternKon: 449 845 40 / 16
|
|
|
|
48 |
308 459 99
|
Bolt |
10 |
InternBDB: M12x100/931- 10.9 | InternKon: 449 845 40 / 17
|
|
|
|
49 |
504 446 98
|
Half clamp |
4 |
InternBDB: H-CS6/65 011 839 99 | InternKon: 449 845 40 / 14
|
|
|
|
50 |
504 004 98
|
Half clamp |
4 |
InternBDB: H-CS6/38 011 839 99 | InternKon: 449 845 40 / 12
|
|
|
|
53 |
332 338 99
|
Nut |
8 |
InternBDB: M20/934 | InternKon: 449 845 40 / 24
|
|
|
|
54 |
343 006 99
|
Locking plate |
12 |
InternBDB: 13/93 | InternKon: 449 845 40 / 18
|
|
|
|
55 |
319 313 99
|
Bolt |
8 |
InternBDB: M20x120/912- 10.9 | InternKon: 449 845 40 / 23
|
|
|
|
56 |
504 448 98
|
Flange |
2 |
InternBDB: FE-6500-32/6 | InternKon: 449 845 40 / 19
|
|
|
|
57 |
504 449 98
|
Collar ring |
2 |
InternBDB: KO-6580-32 | InternKon: 449 845 40 / 20
|
|
|
|
58 |
385 243 40
|
Tetra seal |
2 |
InternBDB: Bu. u. Lu. FR76-6299-2200 | InternKon: 449 845 40 / 22
|
|
|
|
59 |
319 209 99
|
Bolt |
8 |
InternBDB: M14x45/912- 10.9 | InternKon: 449 845 40 / 33
|
|
|
|
60 |
500 129 98
|
Flange |
4 |
InternBDB: FE-3800-20/6 | InternKon: 449 845 40 / 26
|
|
|
|
61 |
500 202 98
|
Collar ring |
2 |
InternBDB: KO-3850-20 | InternKon: 449 845 40 / 28
|
|
|
|
63 |
332 226 99
|
Nut |
16 |
InternBDB: M14/934 | InternKon: 449 845 40 / 32
|
|
|
|
64 |
501 871 98
|
Collar ring |
2 |
InternBDB: K-3850-20 | InternKon: 449 845 40 / 29
|
|
|
|
67 |
145 826 40
|
Half flange |
8 |
InternBDB: 32/420 | InternKon: 449 845 40 / 27
|
|
|
|
68 |
006 725 98
|
O-ring |
6 |
InternBDB: 37,7x3,53/90 011 745 99 | InternKon: 449 845 40 / 30
|
|
|
|
69 |
319 486 99
|
Bolt |
16 |
InternBDB: M14x70/912- 10.9 | InternKon: 449 845 40 / 31
|
|
|
|
|$$59 |
|
Graphic 3 |
-1 |
|
|
|
|
75 |
145 749 40
|
Hose assy. DN 8x600 lg |
4 |
InternBDB: TL | InternKon: 449 845 40 / 49
|
|
|
|
76 |
370 312 99
|
Union |
4 |
InternBDB: DL10/2353 | InternKon: 449 845 40 / 37
|
|
|
|
77 |
372 400 99
|
Union |
10 |
InternBDB: EL10/2353 | InternKon: 449 845 40 / 41
|
|
|
|
78 |
215 627 99
|
Pipe Ш 10
Bulk ware, state length
required |
-2 |
InternBDB: 10x2/2391 | InternKon: 449 845 40 / 66
|
|
|
|
79 |
006 894 98
|
Union |
8 |
InternBDB: 10-LR | InternKon: 449 845 40 / 43
|
|
|
|
80 |
372 612 99
|
Union |
10 |
InternBDB: QL10/2353 | InternKon: 449 845 40 / 38
|
|
|
|
81 |
371 852 99
|
Plug |
8 |
InternBDB: BUZ10
|
|
|
|
82 |
372 709 99
|
Union |
4 |
InternBDB: KL10/2353
|
|
|
|
83 |
372 171 99
|
Union |
4 |
InternBDB: DDL10/2353 | InternKon: 449 845 40 / 45
|
|
|
|
84 |
371 952 99
|
Union |
4 |
InternBDB: FFL10/2353
|
|
|
|
85 |
004 860 98
|
Grease nipple |
14 |
InternBDB: AR 1/4 | InternKon: 449 845 40 / 39
|
|
|
|
86 |
180 113 40
|
Plug |
14 |
InternBDB: vsti R 1/4
|
|
|
|
87 |
456 800 40
|
Lube rail |
1 |
InternKon: 449 845 40 / 36
|
|
|
|
88 |
269 890 40
|
Hose fittings |
4 |
InternBDB: Aeroquip 07.327-13-08 | InternKon: 449 845 40 / 47
|
|
|
|
89 |
269 888 40
|
Hose DN 12
Bulk ware, state length
required |
-2 |
InternBDB: Aeroquip FC195-08 | InternKon: 449 845 40 / 46
|
|
|
|
90 |
373 696 99
|
Union |
4 |
InternBDB: GR15/10-L | InternKon: 449 845 40 / 48
|
|
|
|
91 |
504 509 98
|
Base |
3 |
InternKon: 449 845 40 / 61
|
|
|
|
92 |
504 508 98
|
Clamp |
3 |
InternKon: 449 845 40 / 60
|
|
|
|
93 |
307 631 99
|
Bolt |
30 |
InternBDB: M6x10/93 | InternKon: 449 845 40 / 52
|
|
|
|
94 |
003 331 98
|
Clamp |
3 |
|
|
|
|
95 |
261 480 40
|
Base |
3 |
|
|
|
|
96 |
003 307 98
|
Clamp |
4 |
|
|
|
|
97 |
249 685 40
|
Base |
4 |
|
|
|
|
98 |
003 291 98
|
Clamp |
4 |
InternKon: 449 845 40 / 56
|
|
|
|
99 |
230 319 40
|
Base |
4 |
InternKon: 449 845 40 / 57
|
|
|
|
100 |
003 283 98
|
Clamp |
5 |
InternKon: 449 845 40 / 54
|
|
|
|
101 |
141 508 40
|
Base |
5 |
InternKon: 449 845 40 / 55
|
|
|
|
|$$87 |
|
Graphic 4 |
-1 |
|
|
|
|
121 |
323 017 40
|
Stripper |
8 |
InternBDB: Prдdifa 200/230x7,5 | InternKon: 449 845 40 / 3
|
|
|
|
122 |
366 747 40
|
Freeze-in bush |
4 |
InternBDB: 230/200x170 | InternKon: 449 845 40 / 2
|
|
|
|
123 |
456 761 40
|
Pin |
2 |
InternKon: 449 845 40 / 4
|
|
|
|
124 |
456 763 40
|
Shackle |
2 |
InternKon: 449 845 40 / 6
|
|
|
|
125 |
500 621 98
|
Bolt |
8 |
InternBDB: M16x45/933- 10.9 Kaltzдh | InternKon: 449 845 40 / 8
|
|
|
|
126 |
456 764 40
|
Bolt lock |
4 |
InternKon: 449 845 40 / 7
|
|
|
|
127 |
456 762 40
|
Axle stirrup |
2 |
InternKon: 449 845 40 / 5
|
|
|
|
128 |
343 008 99
|
Locking plate |
2 |
InternBDB: 17/93 | InternKon: 449 845 40 / 9
|
|
|
|
129 |
467 599 40
|
Freeze-in bush |
4 |
|
|