|
|
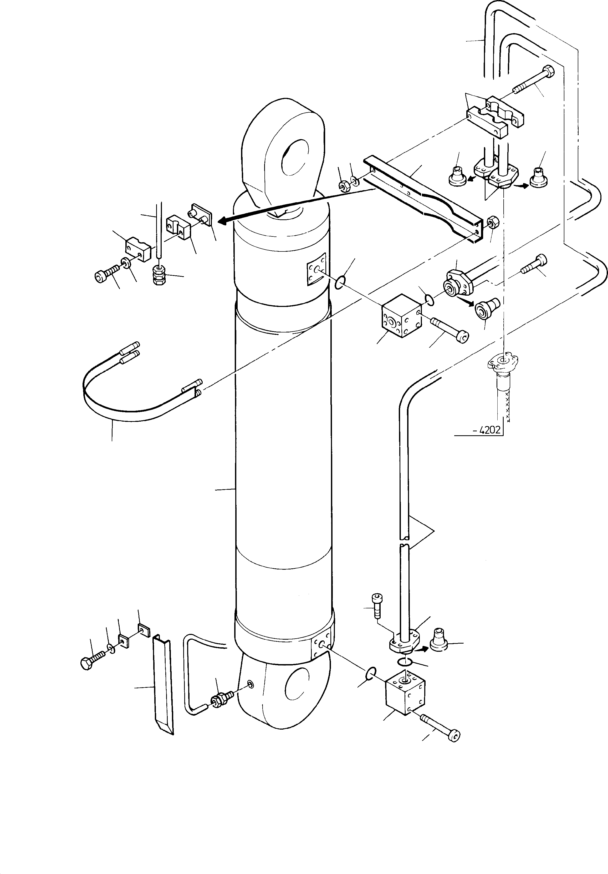
01 |
|
Cylinder with piping, assy.
fig-nos: 02-36 |
1 |
InternBDB: 541 218 40 | InternKon: KO-372 986 40 / 13
|
|
|
|
02 |
|
Hydraulic cylinder |
1 |
InternBDB: 541 270 40 | InternKon: 541 218 40 / 1
|
314-4276a |
|
|
03 |
538 102 40
|
Piping assy.
fig-nos: 04-22 |
1 |
InternBDB: E-ST | InternKon: 541 218 40 / 2
|
|
|
|
04 |
761 149 73
|
Pipe, assy. Ш 38, |
1 |
InternBDB: 508 798 40 | InternKon: 538 102 40 / 5
|
|
|
|
05 |
761 150 73
|
Pipe, assy. Ш 38, |
1 |
InternBDB: 508 799 40 | InternKon: 538 102 40 / 6
|
|
|
|
06 |
500 129 98
|
Flange |
4 |
InternBDB: FE-3800-20/6 | InternKon: 538 102 40 / 8
|
|
|
|
07 |
501 871 98
|
Collar ring |
2 |
InternBDB: K-3850-20 | InternKon: 538 102 40 / 9
|
|
|
|
08 |
500 202 98
|
Collar ring |
2 |
InternBDB: KO-3850-20 | InternKon: 538 102 40 / 10
|
|
|
|
09 |
006 725 98
|
O-ring |
2 |
InternBDB: 37,7x3,5NB90 011 745 99 | InternKon: 538 102 40 / 11
|
|
|
|
10 |
367 135 99
|
O-ring |
1 |
InternBDB: 67x4NB90/ 3770 | InternKon: 538 102 40 / 12
|
|
|
|
11 |
006 728 98
|
O-ring |
1 |
InternBDB: 47x4NB90 011 745 99 | InternKon: 538 102 40 / 13
|
|
|
|
12 |
319 290 99
|
Bolt |
4 |
InternBDB: M16x120/912- 10.9 | InternKon: 538 102 40 / 14
|
|
|
|
13 |
319 293 99
|
Bolt |
4 |
InternBDB: M16x100/912- 10.9 | InternKon: 538 102 40 / 15
|
|
|
|
14 |
319 209 99
|
Bolt |
8 |
InternBDB: M14x45/912- 10.9 | InternKon: 538 102 40 / 16
|
|
|
|
15 |
308 611 99
|
Bolt |
2 |
InternBDB: M12x90/931 | InternKon: 538 102 40 / 17
|
|
|
|
16 |
332 334 99
|
Nut |
6 |
InternBDB: M12/934 | InternKon: 538 102 40 / 18
|
|
|
|
17 |
343 112 99
|
Lock washer |
2 |
InternBDB: B12/128 | InternKon: 538 102 40 / 19
|
|
|
|
18 |
456 135 40
|
Clam clip |
1 |
InternKon: 538 102 40 / 1
|
|
|
|
19 |
456 137 40
|
Spanner |
1 |
InternKon: 538 102 40 / 2
|
|
|
|
20 |
426 977 40
|
Connecting block |
1 |
InternKon: 538 102 40 / 3
|
|
|
|
21 |
257 917 40
|
Connecting block |
1 |
InternKon: 538 102 40 / 4
|
|
|
|
22 |
230 438 40
|
Pipe bracket |
2 |
InternKon: 538 102 40 / 7
|
|
|
|
25 |
494 162 40
|
Line protection |
1 |
InternKon: 541 218 40 / 3
|
|
|
|
26 |
494 163 40
|
Weld on plate |
4 |
InternKon: 541 218 40 / 4
|
|
|
|
27 |
410 504 40
|
Thread plate |
4 |
InternKon: 541 218 40 / 5
|
|
|
|
28 |
215 627 99
|
Pipe Ш 10
Bulk ware, state length
required |
-2 |
InternBDB: 10x2 /2391 | InternKon: 541 218 40 / 6
|
|
|
|
29 |
370 312 99
|
Union |
1 |
InternBDB: DL 10 /2353 | InternKon: 541 218 40 / 7
|
|
|
|
30 |
370 402 99
|
Union |
1 |
InternBDB: ES 10 /2353 | InternKon: 541 218 40 / 8
|
|
|
|
31 |
346 498 99
|
Lock washer |
4 |
InternBDB: 12 /128 | InternKon: 541 218 40 / 9
|
|
|
|
32 |
307 802 99
|
Bolt |
4 |
InternBDB: M12x25 /933 | InternKon: 541 218 40 / 10
|
|
|
|
33 |
320 214 99
|
Screw |
2 |
InternBDB: M6x20 /912 | InternKon: 541 218 40 / 11
|
|
|
|
34 |
340 405 99
|
Washer |
2 |
InternBDB: 6,4 /433 | InternKon: 541 218 40 / 12
|
|
|
|
35 |
533 984 99
|
Half clamp |
2 |
InternBDB: C1A /10 011 839 99 | InternKon: 541 218 40 / 13
|
|
|
|
36 |
533 986 99
|
Weld on plate |
1 |
InternBDB: E1A | InternKon: 541 218 40 / 14
|
|