|
|
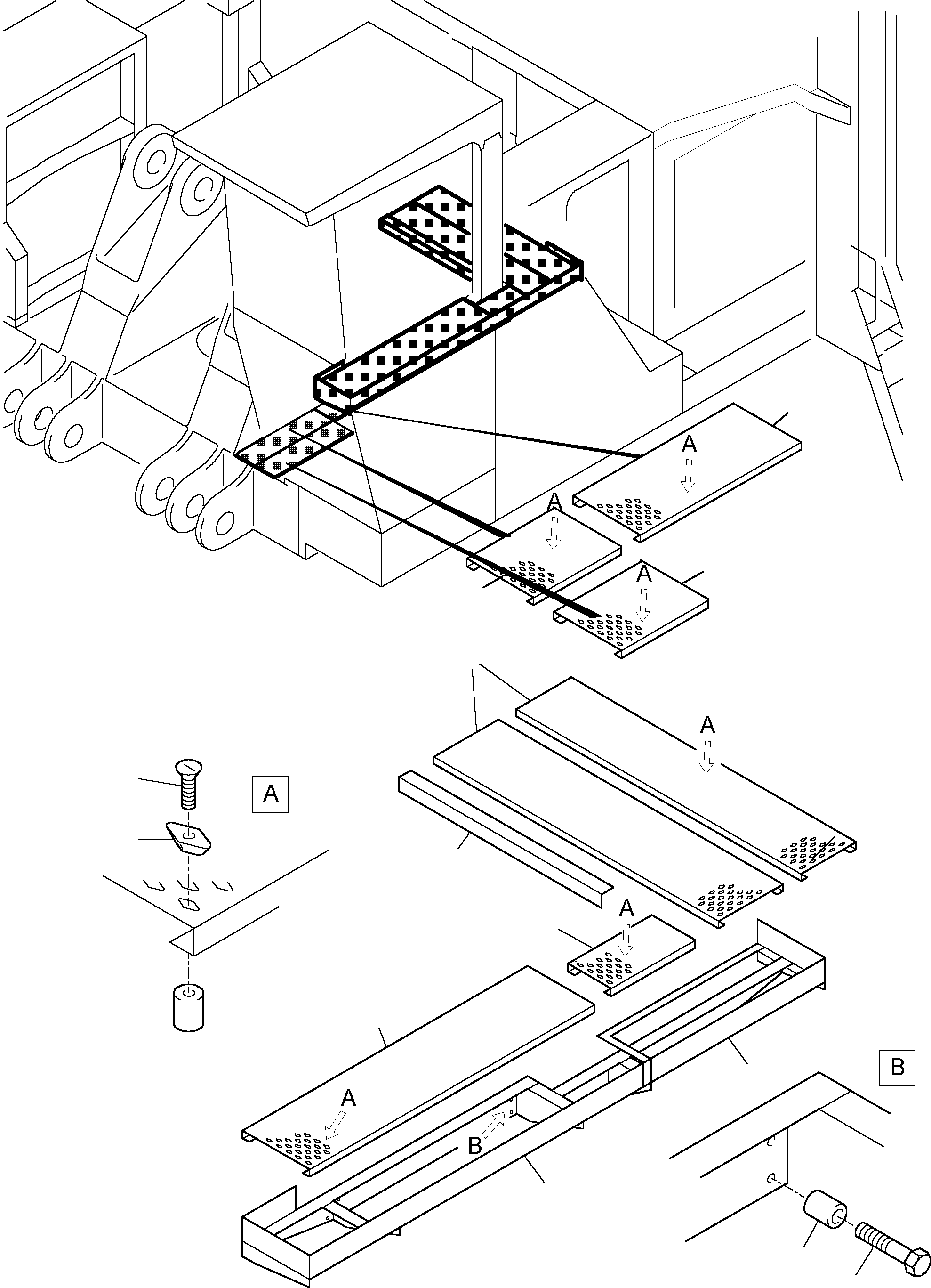
01 |
652 985 40
|
Rail |
1 |
InternKon: 660 050 40 / 3
|
|
|
|
02 |
510 744 98
|
Resilient sleeve |
60 |
InternBDB: 13/25x32
|
|
|
|
03 |
308 605 99
|
Bolt |
60 |
InternBDB: M12x55
|
|
|
|
04 |
660 037 40
|
Rail |
1 |
InternKon: 660 050 40 / 5
|
|
|
|
05 |
660 043 40
|
Rail |
1 |
InternKon: 660 050 40 / 6
|
|
|
|
06 |
660 046 40
|
Rail |
1 |
InternKon: 660 050 40 / 8
|
|
|
|
07 |
307 802 99
|
Bolt |
6 |
InternBDB: M12x25
|
|
|
|
08 |
346 498 99
|
Lock washer |
6 |
InternBDB: 12
|
|
|
|
09 |
652 989 40
|
Rail |
1 |
InternKon: 660 050 40 / 7
|
|
|
|
10 |
660 033 40
|
Rail |
1 |
InternKon: 660 050 40 / 4
|
|
|
|
11 |
653 537 40
|
Rail |
1 |
InternKon: 660 050 40 / 9
|
|
|
|
12 |
621 346 40
|
Emergency ladder |
1 |
InternKon: 660 050 40 / 20
|
|
|
|
15 |
674 996 40
|
Rail |
1 |
InternKon: 873 098 40 / 28
|
|
|
|
17 |
661 987 40
|
Rail |
1 |
InternKon: 661 981 40 / 3
|
|
|
|
18 |
661 991 40
|
Rail |
1 |
InternKon: 661 981 40 / 4
|
|
|
|
20 |
873 066 40
|
Rail |
1 |
InternKon: 647 897 40 / 2
|
|
|
|
21 |
647 894 40
|
Rail |
1 |
InternKon: 647 897 40 / 4
|
|
|
|
22 |
873 073 40
|
Rail |
1 |
InternKon: 647 897 40 / 1
|
|
|
|
23 |
647 888 40
|
Rail |
1 |
InternKon: 647 897 40 / 5
|
|
|
|
24 |
873 064 40
|
Rail |
1 |
InternKon: 647 897 40 / 3
|
|
|
|
26 |
873 093 40
|
Rail |
1 |
InternKon: 873 098 40 / 8
|
|
|
|
27 |
626 636 40
|
Ladder |
1 |
InternKon: 873 098 40 / 4
|
|
|
|
30 |
652 935 40
|
Catwalk |
1 |
InternKon: 660 050 40 / 1
|
|
|
|
31 |
510 730 98
|
Resilient sleeve |
16 |
InternBDB: 17/30x55 | InternKon: 660 050 40 / 15
|
|
|
|
32 |
308 635 99
|
Bolt |
16 |
InternBDB: M16x75 | InternKon: 660 050 40 / 16
|
|
|
|
33 |
634 053 40
|
Grid 480x2100 |
3 |
InternKon: 660 050 40 / 10
|
|
|
|
34 |
317 311 40
|
Grid 300x510 |
1 |
InternKon: 660 050 40 / 11
|
|
|
|
40 |
652 998 40
|
Angle |
1 |
InternKon: 660 050 40 / 12
|
|
|
|
41 |
502 354 98
|
Bolt |
30 |
InternBDB: M8x40 | InternKon: 660 050 40 / 19
|
|
|
|
42 |
317 318 40
|
Wing nut, plastic |
30 |
InternKon: 660 050 40 / 18
|
|
|
|
43 |
317 319 40
|
Threaded block |
30 |
InternKon: 660 050 40 / 17
|
|
|
|
44 |
660 026 40
|
Podest |
1 |
InternKon: 660 050 40 / 2
|
|
|
|
50 |
873 086 40
|
Frame |
1 |
InternKon: 873 098 40 / 1
|
|
|
|
51 |
626 624 40
|
Frame |
1 |
InternKon: 873 098 40 / 2
|
|
|
|
52 |
626 629 40
|
Frame with ladder |
1 |
InternKon: 873 098 40 / 3
|
|
|
|
53 |
873 084 40
|
Console |
1 |
InternKon: 873 098 40 / 5
|
|
|
|
54 |
626 646 40
|
Console |
1 |
InternKon: 873 098 40 / 6
|
|
|
|
55 |
626 648 40
|
Console |
1 |
InternKon: 873 098 40 / 7
|
|
|
|
56 |
883 004 40
|
Grid |
1 |
|
|
|
|
57 |
414 172 40
|
Grid 40x360x540 |
3 |
InternKon: 873 098 40 / 10
|
|
|
|
59 |
317 301 40
|
Grid 40x480x540 |
5 |
InternKon: 873 098 40 / 12
|
|
|
|
60 |
621 877 40
|
Grid 40x420x510 |
3 |
InternKon: 873 098 40 / 13
|
|
|
|
61 |
317 319 40
|
Threaded block |
28 |
InternKon: 873 098 40 / 14
|
|
|
|
62 |
317 318 40
|
Wing nut, plastic |
28 |
InternKon: 873 098 40 / 15
|
|
|
|
63 |
502 354 98
|
Bolt |
28 |
InternBDB: M8x40 /963 | InternKon: 873 098 40 / 16
|
|
|
|
64 |
308 639 99
|
Bolt |
12 |
InternBDB: M16x110 /931 | InternKon: 873 098 40 / 17
|
|
|
|
65 |
510 733 98
|
Resilient sleeve |
12 |
InternBDB: 17/30x50 | InternKon: 873 098 40 / 18
|
|
|
|
66 |
308 605 99
|
Bolt |
4 |
InternBDB: M12x55 /931 | InternKon: 873 098 40 / 19
|
|
|
|
67 |
510 744 98
|
Resilient sleeve |
13 |
InternBDB: 13/25x32 | InternKon: 873 098 40 / 20
|
|
|
|
68 |
308 612 99
|
Bolt |
3 |
InternBDB: M12x100 /931 | InternKon: 873 098 40 / 21
|
|
|
|
69 |
332 334 99
|
Nut |
9 |
InternBDB: M 12 /934 | InternKon: 873 098 40 / 22
|
|
|
|
70 |
307 810 99
|
Bolt |
6 |
InternBDB: M12x60 /933 | InternKon: 873 098 40 / 23
|
|
|
|
71 |
307 805 99
|
Bolt |
6 |
InternBDB: M12x35 /933 | InternKon: 873 098 40 / 24
|
|
|
|
72 |
334 600 99
|
Nut |
6 |
InternBDB: M 12 /985 | InternKon: 873 098 40 / 25
|
|
|
|
75 |
414 480 40
|
Grid 40x420x1110 |
1 |
InternKon: 598 300 40 / 61
|
|
|
|
90 |
317 308 40
|
Grid |
1 |
InternBDB: 480x2700 | InternKon: 903 980 40
/ 1
|
|
|
|
91 |
655 680 40
|
Grid |
1 |
InternBDB: 480x1020 | InternKon: 903 980 40
/ 2
|
|
|
|
92 |
425 360 40
|
Grid |
1 |
InternBDB: 480x1110 | InternKon: 903 980 40
/ 3
|
|