1
PB7202
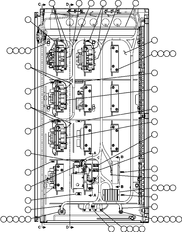
INSULATOR
1
2
EM8612
ROD, THREADED - 5/16"
1
3
SC4174
LOCKWASHER - 5/16"
2
4
TD1684
NUT - 5/16" - 18NC
1
5
TV0177
FLAT WASHER - 5/16"
2
6
EK0731
ROD, THREADED - M6
4
7
MM0176
NUT - M6 X 1.00
6
8
MM0469
LOCKWASHER - M6
4
9
MM0459
FLAT WASHER - M6
6
10
TA7409
INSULATOR, STAND-OFF
1
11
ED0913
ROD, THREADED - 1/4"
1
12
TD1549
NUT - 1/4" - 20NC
1
13
DC3584
LOCKWASHER - 1/4"
2
14
TR1307
FLAT WASHER - 1/4"
2
15
PC1615
CONVERTER
1
16
MM0373
NUT - M5 X 0.8
2
17
MM0379
LOCKWASHER - M5 (EXTERNAL TOOTH)
2
18
EL0312
MOUNTING BRACKET ASSEMBLY
1
19
EL0311
MOUNT, BRACKET
1
20
EK9239
BRACKET
11
21
MM0470
LOCKWASHER - M8
44
22
MM0177
NUT - M8 X 1.25
44
23
MM0460
FLAT WASHER - M8
44
24
TC1234
CAPSCREW - 3/8" - 16NC X 3/4"
9
25
TC1231
LOCKWASHER - 3/8"
9
26
TR4436
FLAT WASHER - 3/8"
9
27
EK3808
RELAY BOARD ASSEMBLY - RB1 (SEE FIG 55612)
1
55612
28
EK3803
RELAY BOARD ASSEMBLY - RB3 (SEE FIG 55612)
1
55612
29
EK3806
RELAY BOARD ASSEMBLY - RB4 (SEE FIG 55612)
1
55612
30
EK3811
RELAY BOARD ASSEMBLY - RB5 (SEE FIG 55612)
1
55612
31
TZ7377
NAME PLATE - 24 VDC
1
32
WB2281
NAME PLATE - LUBE TIMER
1
33
WB2303
NAME PLATE - GB31
1
34
TZ7378
NAME PLATE - 12 VDC
1
35
WB3239
NAME PLATE - 12 VCN
1
36
WB3238
NAME PLATE - DOKG
1
37
WB3237
NAME PLATE - RB9
1
38
WB2836
NAME PLATE - 12V POWER RELAY
1
39
WB2289
NAME PLATE - CONTROL POWER RELAY
1
40
EK3939
HARNESS, AUXILIARY BOX (P301 - P305)
1
41
WB2835
NAME PLATE - KEY SWITCH POWER RELAY
1
42
WB3298
NAME PLATE - GROUND LEVEL POWER RELAY
1
43
WB2280
NAME PLATE - RB7
1
44
EC8824
NAME PLATE - RB6
1
45
EL7628
NAME PLATE - INCLINOMETER
1
46
EC8825
NAME PLATE - DB1
1
47
WB2733
NAME PLATE - RB8
1
48
EC8819
NAME PLATE - RB1
2
49
EC8821
NAME PLATE - RB3
2
50
EC8822
NAME PLATE - RB4
2
51
EC8823
NAME PLATE - RB5
2
52
EH3010
NAME PLATE - PVM
1
52
(FOR VIEWS A-A THROUGH D-D, SEE THE FOLLOWING PAGE.)
-1