|
|
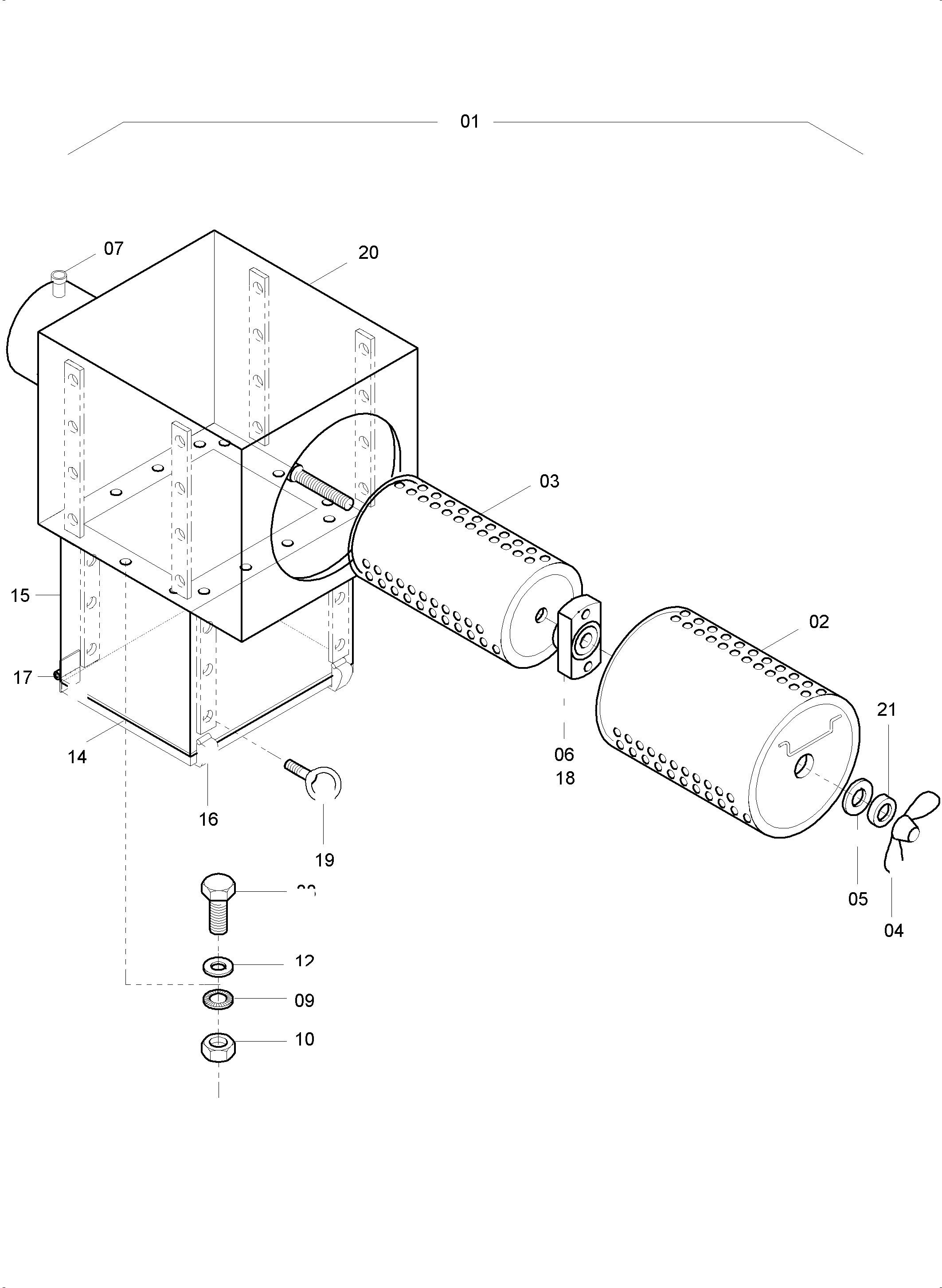
01 |
907 544 40
|
Air cleaner assy. |
1 |
InternBDB: Donaldson SR G772917 mit neuen Artikelnummern = alten SRG 77.200
|
|
|
|
02 |
694 488
|
Main element |
1 |
InternBDB: P780597 (alt P 18-2038) | InternKon: MIT SRG77-2917 / 2
|
|
|
|
03 |
988 636
|
Safety element |
1 |
InternBDB: P780596 (alt P 11-5070) | InternKon: MIT SRG77-2917 / 3
|
|
|
|
04 |
988 759
|
Wing nut |
1 |
InternBDB: P 11-6175 | InternKon: MIT SRG77-2917 / 4
|
|
|
|
05 |
988 750
|
Gasket |
1 |
InternBDB: P 10-5740 | InternKon: MIT SRG77-2917 / 5
|
|
|
|
06 |
988 748
|
Maintenance indicator |
1 |
InternBDB: RNX 00-4816 | InternKon: MIT SRG77-2917 / 7
|
|
|
|
07 |
761 418 73
|
Cap |
1 |
InternBDB: P100091 (alt P 10-6043) | InternKon: MIT SRG77-2917 / 11
|
|
|
|
08 |
307 447 99
|
Bolt |
14 |
InternBDB: M10x25 /933 | InternKon: MIT SRG77-2917 / 10
|
|
|
|
09 |
343 110 99
|
Lock washer |
14 |
InternBDB: 10 /127 | InternKon: MIT SRG77-2917 / 10
|
|
|
|
10 |
332 333 99
|
Nut |
14 |
InternBDB: M 10 /934 | InternKon: MIT SRG77-2917 / 10
|
|
|
|
12 |
340 007 99
|
Washer |
8 |
InternBDB: 11 /126 | InternKon: MIT SRG77-2917 / 10
|
|
|
|
14 |
793 098 73
|
Dust cup cover |
1 |
InternBDB: 4201x5444 (alt L 015444) | InternKon: MIT SRG77-2917 / 9
|
|
|
|
15 |
793 097 73
|
Dust cup body |
1 |
InternBDB: 4201x2004 (alt L 012004) | InternKon: MIT SRG77-2917 / 8
|
|
|
|
16 |
765 199 73
|
Latch |
2 |
InternBDB: (alt P 01-7617) position10
|
|
|
|
17 |
765 165 73
|
Hinge |
2 |
InternBDB: (alt L 013 306) position 13
|
|
|
|
18 |
988 749
|
Pin |
1 |
InternBDB: P 10-9107 | InternKon: MIT SRG77-2917 / 6
|
|
|
|
19 |
793 099 73
|
Eye bolt |
2 |
InternBDB: P 11-9619 | InternKon: MIT SRG77-2917 / 12
|
|
|
|
20 |
793 095 73
|
Air cleaner body |
1 |
InternBDB: 4201x2006 (alt L 012006) | InternKon: MIT SRG77-2917 / 1
|
|
|
|
21 |
988 758
|
Safty clip |
1 |
InternBDB: P 10-5738 | InternKon: MIT SRG77-2917 / 13
|
|