|
|
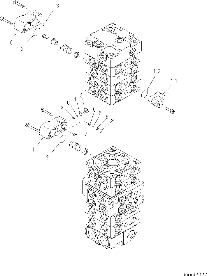
|$1 |
723-18-18504
|
CONTROL VALVE |
1 |
Field_1: CONTROL VALVE | Field_2: DJB10001-
|
|
|
|
|$2 |
|
THESE ASSEMBLIES CONSIST OF ALL PARTS SHOWN IN FIGS.Y1660-01A0 TO Y1660-22A0. |
-1 |
Field_1: THESE ASSEMBLIES CONSIST OF ALL PARTS SHOWN IN FIGS.Y1660-01A0 T
|
|
|
|
|$3 |
723-11-01520
|
CASE SUB ASS'Y |
1 |
Field_1: CASE SUB ASS'Y | Field_2: DJB10001-
|
|
|
|
1 |
Ўо
|
CASE, SPRING |
1 |
Field_1: CASE, SPRING | Field_2: DJB10001-
|
|
|
|
2 |
722-12-19120
|
O-RING |
1 |
Field_1: O-RING | Field_2: DJB10001-
|
|
|
|
3 |
Ўо
|
PLUG |
1 |
Field_1: PLUG | Field_2: DJB10001-
|
|
|
|
4 |
07002-10823
|
O-RING |
1 |
Field_1: O-RING | Field_2: DJB10001-
|
|
|
|
5 |
Ўо
|
SEAT |
2 |
Field_1: SEAT | Field_2: DJB10001-
|
|
|
|
6 |
Ўо
|
BALL |
2 |
Field_1: BALL | Field_2: DJB10001-
|
|
|
|
7 |
702-21-54260
|
O-RING |
1 |
Field_1: O-RING | Field_2: DJB10001-
|
|
|
|
8 |
Ўо
|
SEAT |
1 |
Field_1: SEAT | Field_2: DJB10001-
|
|
|
|
9 |
702-21-54290
|
O-RING |
1 |
Field_1: O-RING | Field_2: DJB10001-
|
|
|
|
10 |
723-11-37210
|
CASE, SPRING |
1 |
Field_1: CASE, SPRING | Field_2: DJB10001-
|
|
|
|
11 |
723-11-37220
|
CASE, SPRING |
1 |
Field_1: CASE, SPRING | Field_2: DJB10001-
|
|
|
|
12 |
722-12-19120
|
O-RING |
2 |
Field_1: O-RING | Field_2: DJB10001-
|
|
|
|
13 |
07000-11008
|
O-RING |
1 |
Field_1: O-RING | Field_2: DJB10001-
|
|