Search in all models by partnumber
Search current book

Komatsu PC4000-6E S/N 08202 parts catalog PDF

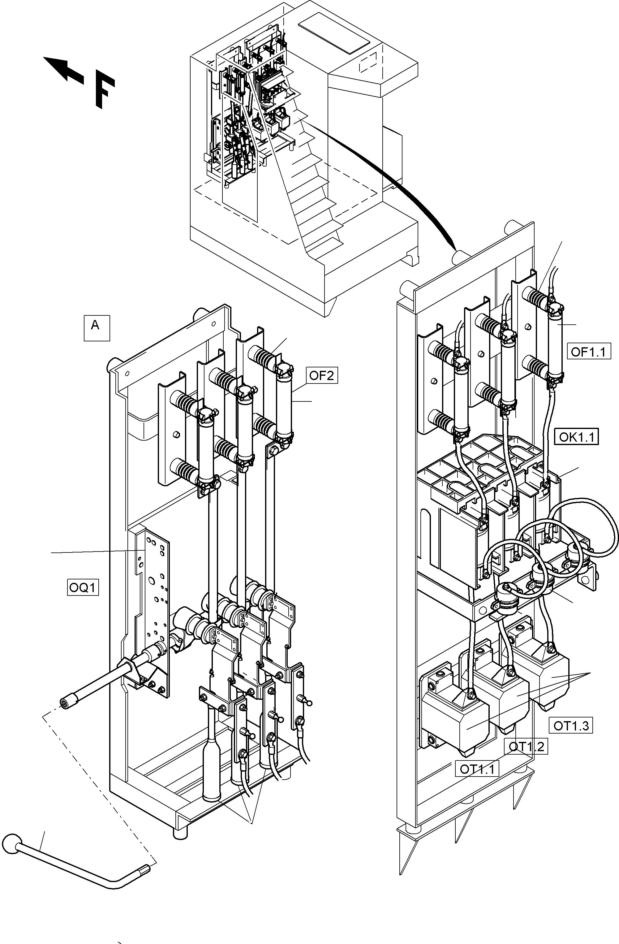
SWITCH CABINET (991-0877) in PC4000-6E S/N 08202. Diagram image and parts list.

Model manual types and quick links