|
|
? |
923 828 40
|
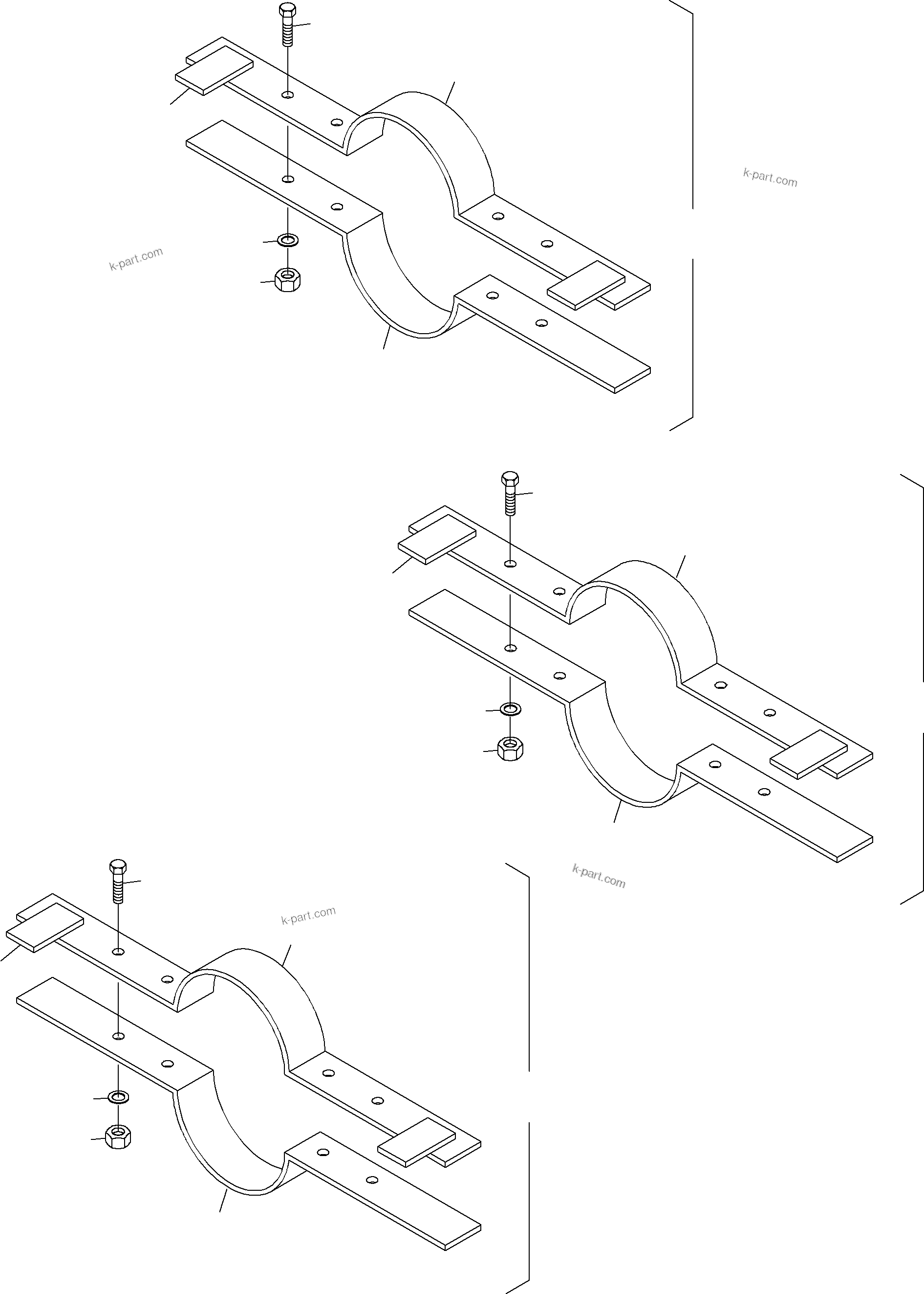
Installation tool assy. Boom cylinder |
1 |
InternBDB: Ш 425mm | InternKon: 909 345 40 / 1
|
|
|
|
? |
909 543 40
|
Installation tool assy. Stick cylinder |
1 |
InternBDB: Ш 338mm | InternKon: 909 345 40 / 2
|
|
|
|
? |
909 348 40
|
Installation tool assy. Bucket cylinder |
1 |
InternBDB: Ш 360mm | InternKon: 909 345 40 / 3
|
|
|
|
? |
923 822 40
|
Half clamp |
2 |
InternBDB: Ш 425mm | InternKon: 923 828 40 / 1
|
|
|
|
? |
318 478 40
|
Plate |
2 |
InternBDB: 100x15x205 | InternKon: 923 828 40 / 2
|
|
|
|
? |
308 324 99
|
Bolt |
4 |
InternBDB: M 24x80 / 931 | InternKon: 923 828 40 / 3
|
|
|
|
? |
332 359 99
|
Nut |
4 |
InternBDB: M 24 / 934 | InternKon: 923 828 40 / 4
|
|
|
|
? |
340 471 99
|
Washer |
4 |
InternBDB: 25 / 125 | InternKon: 923 828 40 / 5
|
|
|
|
? |
909 542 40
|
Half clamp |
2 |
InternBDB: Ш 338mm | InternKon: 909 543 40 / 1
|
|
|
|
? |
652 962 40
|
Plate |
2 |
InternBDB: 12x100x200 | InternKon: 909 543 40 / 2
|
|
|
|
? |
909 326 40
|
Half clamp |
2 |
InternBDB: Ш 360mm | InternKon: 909 348 40 / 1
|
|