|
|
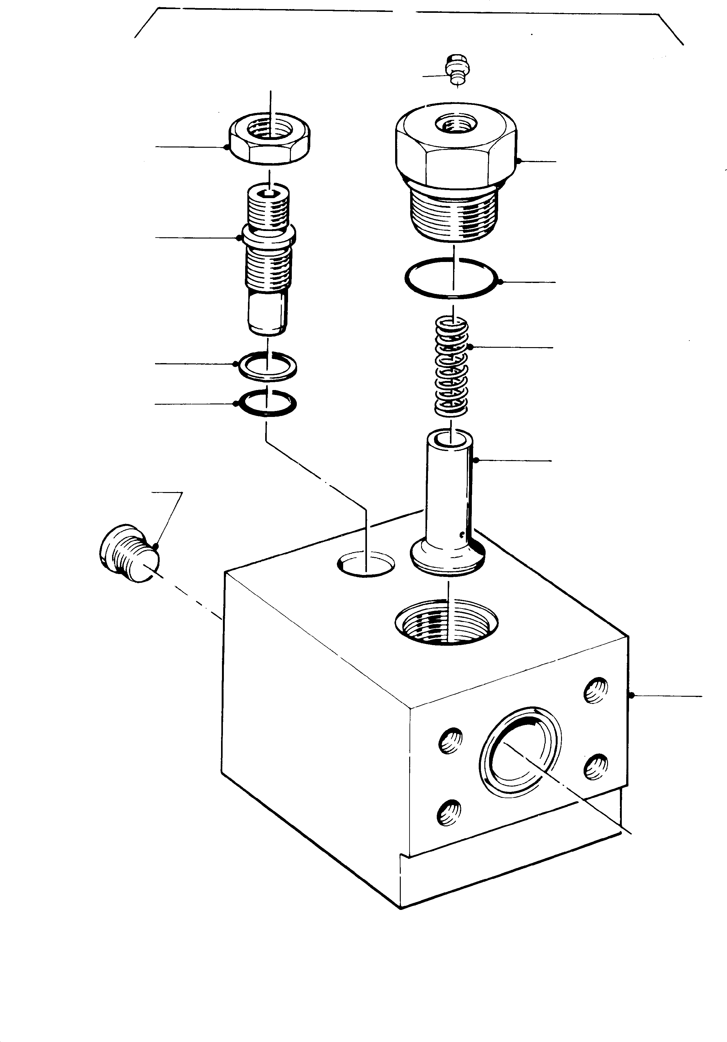
01 |
420 848 40
|
Throttle check valve assy. |
1 |
InternBDB: DBM
|
|
|
|
02 |
420 847 40
|
Housing |
1 |
InternKon: 420 848 40 / 1
|
|
|
|
03 |
255 011 40
|
Valve disk |
1 |
InternBDB: Rexroth 147 996 | InternKon: 420 848 40 / 2
|
|
|
|
04 |
255 012 40
|
Compression spring |
1 |
InternBDB: Rexroth 008 862 | InternKon: 420 848 40 / 4
|
|
|
|
05 |
082 616 40
|
O-ring |
1 |
InternBDB: 44x3 | InternKon: 420 848 40 / 9
|
|
|
|
06 |
255 013 40
|
Plug |
1 |
InternBDB: Rexroth 151 597 | InternKon: 420 848 40 / 3
|
|
|
|
07 |
313 173 99
|
Plug |
1 |
InternBDB: G 1/4 /910 | InternKon: 420 848 40 / 5
|
|
|
|
08 |
333 224 99
|
Nut |
1 |
InternBDB: M24x1,5 /936 | InternKon: 420 848 40 / 11
|
|
|
|
09 |
270 479 40
|
Pin |
1 |
InternBDB: Rexroth 153 095 | InternKon: 420 848 40 / 8
|
|
|
|
10 |
994 297
|
Support ring |
1 |
InternBDB: Rexroth 001 651 | InternKon: 420 848 40 / 7
|
|
|
|
11 |
500 302 98
|
O-ring |
1 |
InternBDB: 23,47x2,62 | InternKon: 420 848 40 / 10
|
|
|
|
12 |
173 448 40
|
Plug |
1 |
InternBDB: vsti M22x1,5 341 913 40 | InternKon: 420 848 40 / 6
|
|