|
|
? |
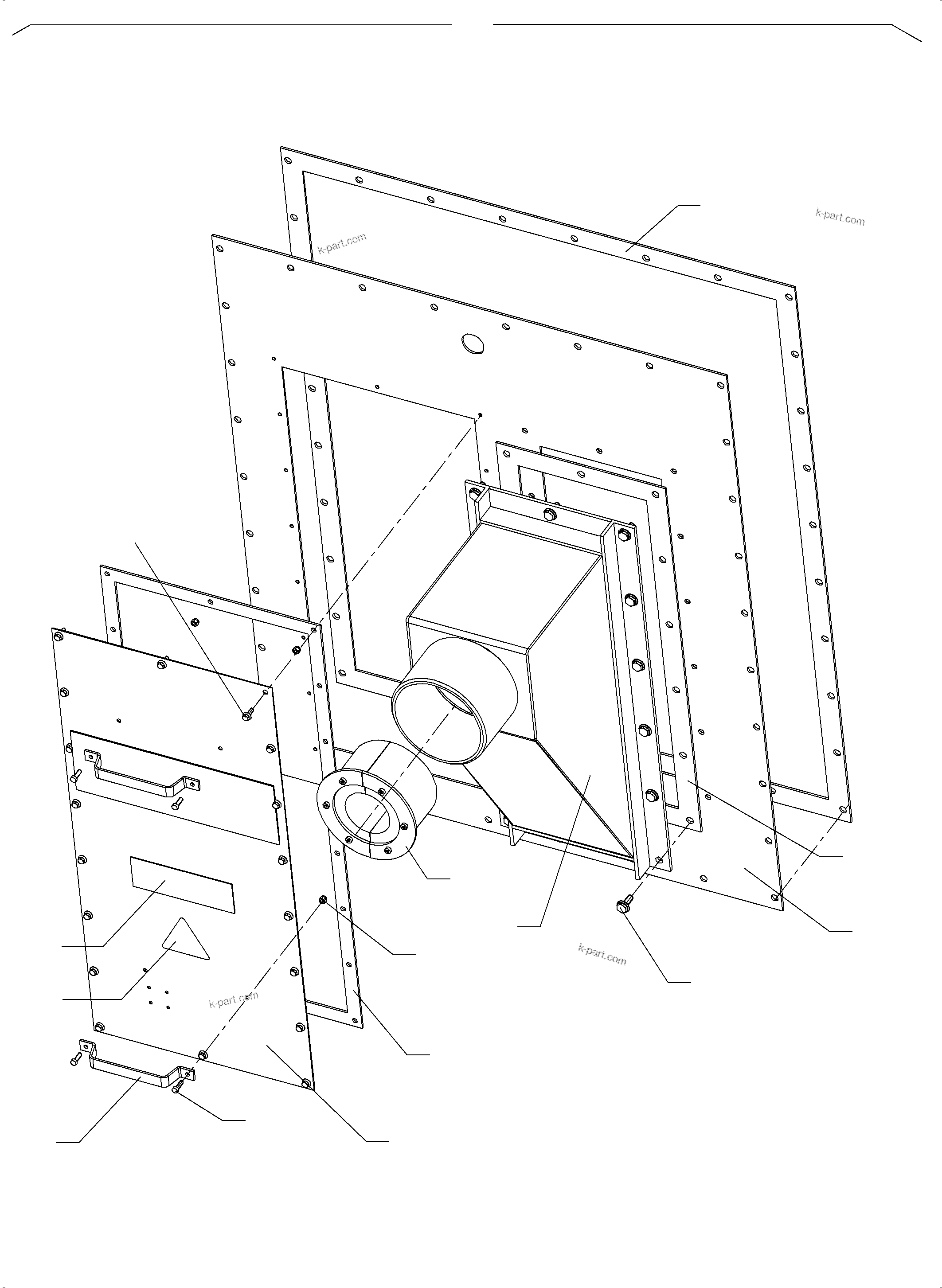
796 486 73
|
Hood assy. with line entrance |
1 |
InternBDB: 70.211/12/1-6000:00 | InternKon: 70.211/12/1-0000:00 / 4
|
|
|
|
? |
796 487 73
|
Hood, welded |
1 |
InternBDB: 70.211/12/1-6100:00 | InternKon: 70.211/12/1-6000:00 / 2
|
|
|
|
? |
796 488 73
|
Line entrance assy. |
1 |
InternBDB: 70.211/12/1-6200:00 | InternKon: 70.211/12/1-6000:00 / 3
|
|
|
|
? |
764 617 73
|
Cover |
1 |
InternBDB: 70.211/5-6000:01 | InternKon: 70.211/12/1-6000:00 / 4
|
|
|
|
? |
770 232 73
|
Handle |
2 |
InternBDB: 70.211/5-6000:03 | InternKon: 70.211/12/1-6000:00 / 5
|
|
|
|
? |
796 098 73
|
Cable union |
1 |
InternBDB: Roxtec RS 125 Nr.RS00001251023 | InternKon: 70.211/12/1-6000:00 / 6
|
|
|
|
? |
511 458 98
|
Lock bolt |
18 |
InternBDB: M5x10 /6921 | InternKon: 70.211/12/1-6000:00 / 7
|
|
|
|
? |
511 459 98
|
Lock bolt |
14 |
InternBDB: M8x16 /6921 | InternKon: 70.211/12/1-6000:00 / 8
|
|
|
|
? |
770 227 73
|
Sealing 25x5 |
-2 |
InternKon: 70.211/12/1-6000:00 / 9
|
|
|
|
? |
764 613 73
|
Sealing 20x3 |
-2 |
InternBDB: geklebt | InternKon: 70.211/12/1-6000:00 / 10
|
|
|
|
? |
319 450 99
|
Screw |
4 |
InternBDB: M5x16 /912 | InternKon: 70.211/12/1-6000:00 / 11
|
|
|
|
? |
512 472 98
|
Nut |
4 |
InternBDB: M 5 /982 | InternKon: 70.211/12/1-6000:00 / 12
|
|
|
|
? |
769 223 73
|
Warnign sign 'Hazard Voltage Assy.' |
1 |
InternBDB: 100x100mm | InternKon: 70.211/12/1-6000:00 / 13
|
|
|
|
? |
769 224 73
|
Warning sign 'Attention High Voltage' |
1 |
InternBDB: 300x100mm | InternKon: 70.211/12/1-6000:00 / 14
|
|