|
|
? |
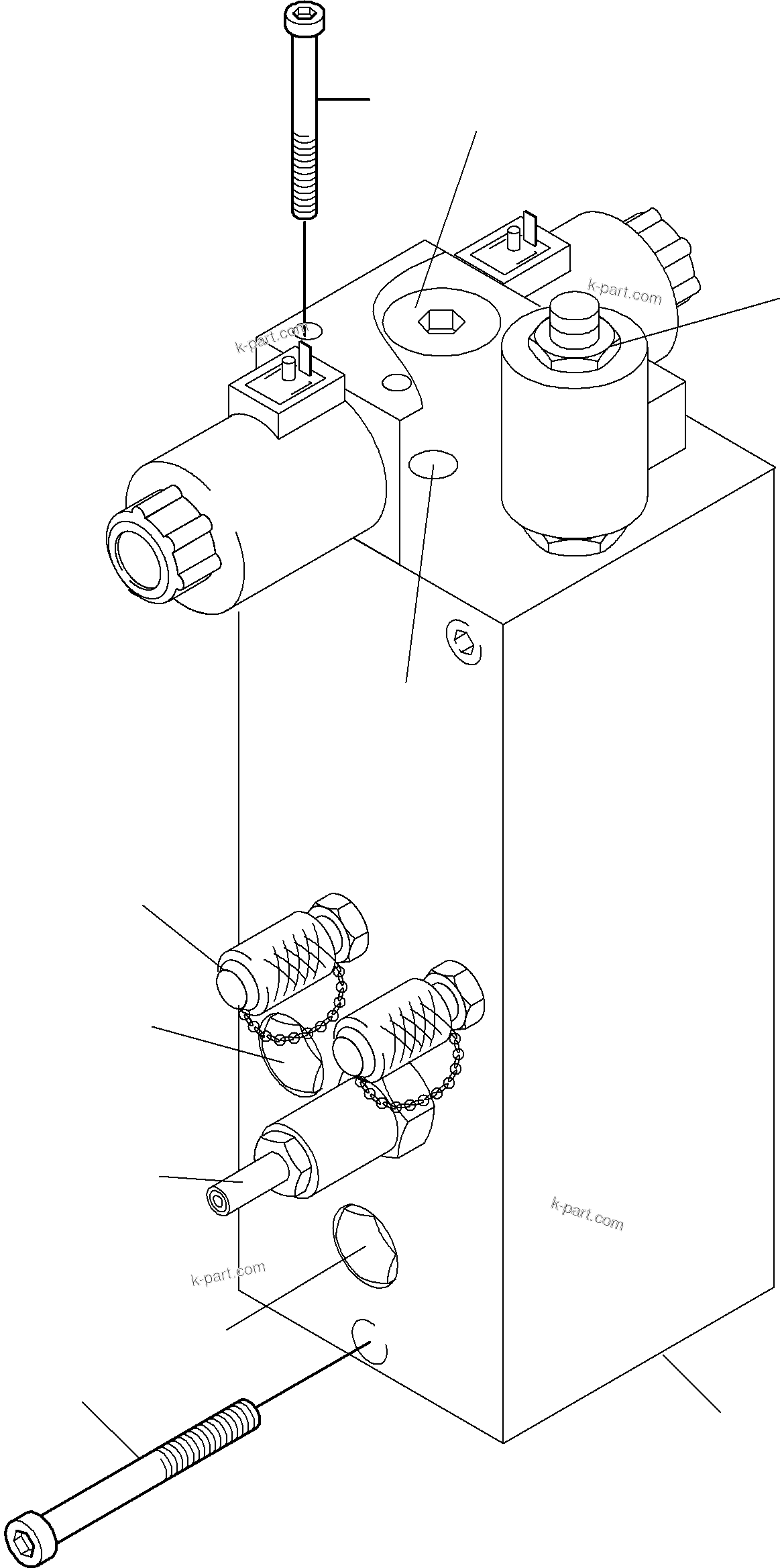
907 113 40
|
Valve - Ladder 60 bar |
1 |
InternBDB: Fluitronics LT-30D66.3-K / 1424921 | InternKon: 918 394 40 / 7
|
|
|
|
? |
319 251 99
|
Cylinder head srew |
3 |
InternBDB: M8x100 / 912 / 10.9 | InternKon: LT-30D66.3-K / 4
|
|
|
|
? |
795 979 73
|
Valve |
1 |
InternBDB: SV08-22-0-N-0 / 1269937 | InternKon: LT-30D66.3-K / 6
|
|
|
|
? |
940 532 40
|
Field coil |
1 |
InternBDB: 4304024-24ERZ-08 / 1424504 | InternKon: LT-30D66.3-K / 7
|
|
|
|
? |
511 562 98
|
Cylinder head srew |
4 |
InternBDB: M5x30/ 912 / 10.9 | InternKon: LT-30D66.3-K / 9
|
|
|
|
? |
794 383 73
|
Non return valve |
2 |
InternBDB: D 02B2 0,2N/ 1233673 | InternKon: LT-30D66.3-K / 10
|
|
|
|
? |
792 767 73
|
Valve |
1 |
InternBDB: LS10-30-0-N / 1334010 | InternKon: LT-30D66.3-K / 11
|
|
|
|
? |
792 766 73
|
Pressure relief valve |
1 |
InternBDB: RV08-20a-0-N-18 / 1250021 | InternKon: LT-30D66.3-K / 12
|
|
|
|
? |
792 771 73
|
Nozzle |
1 |
InternBDB: SO-44-11/1,0 M6/1,0 / 1241418 | InternKon: LT-30D66.3-K / 13
|
|
|
|
? |
792 770 73
|
Nozzle |
1 |
InternBDB: SO-44-11/2,0 M6/2,0 / 1241423 | InternKon: LT-30D66.3-K / 14
|
|
|
|
? |
515 812 98
|
Test-screw coupling |
2 |
InternBDB: G 1/4 WN 655 914 40 | InternKon: LT-30D66.3-K / 15
|
|
|
|
? |
792 787 73
|
Seal kit to fig-no. 12 |
1 |
InternBDB: SK 08-2X-B
|
|
|
|
? |
792 788 73
|
Seal kit to fig-no.11 |
1 |
InternBDB: SK 10-3X-MM
|
|