|
|
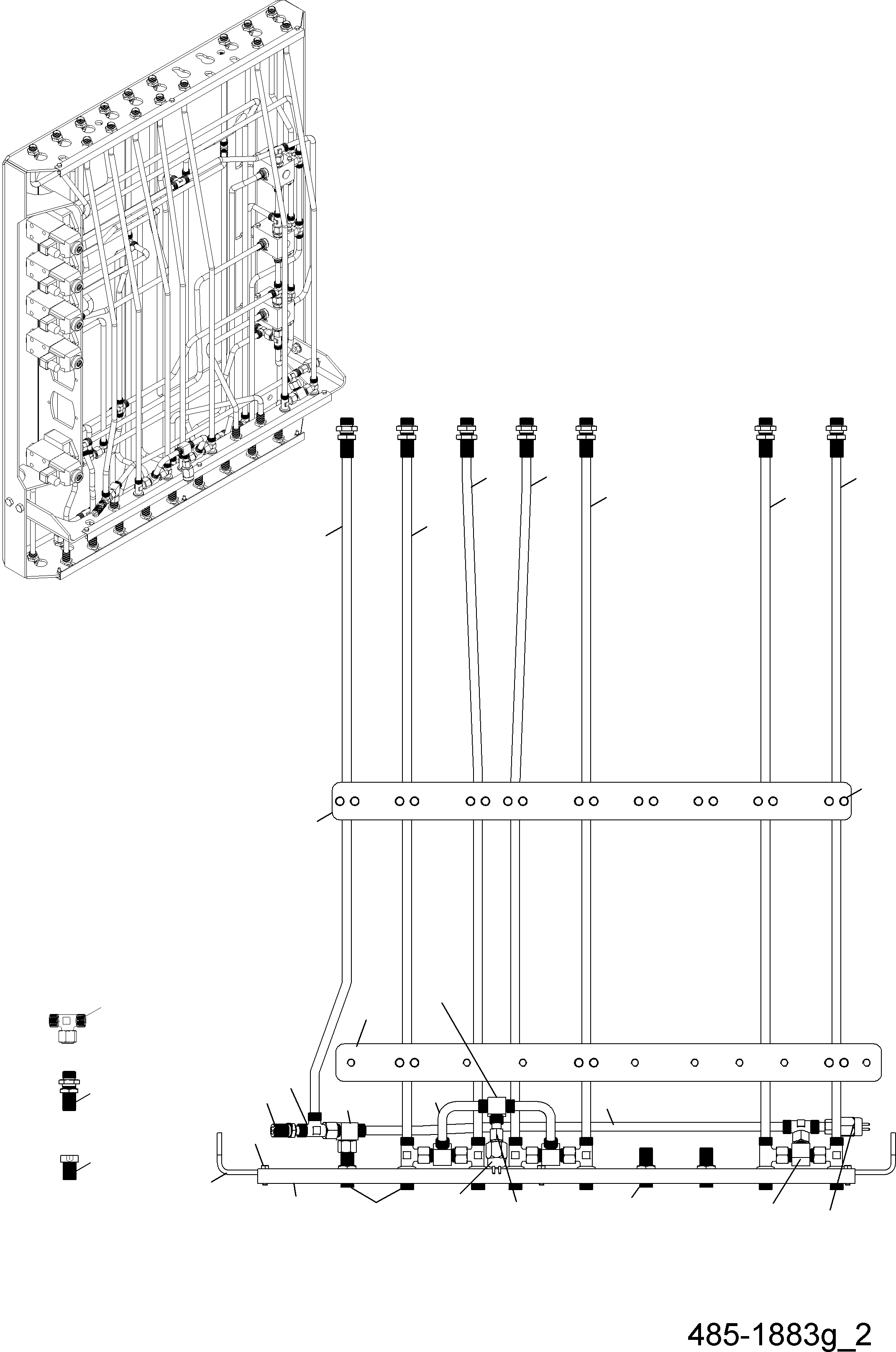
01 |
933 818 40
|
Base plate |
1 |
InternBDB: S355J2G3 | InternKon: 933 809 40 / 1
|
|
|
|
02 |
928 058 40
|
Pipe assy. |
1 |
InternKon: 933 809 40 / 2
|
|
|
|
03 |
928 057 40
|
Pipe assy. |
1 |
InternKon: 933 809 40 / 3
|
|
|
|
04 |
308 436 99
|
Bolt |
4 |
InternBDB: M12x75 DIN00931 | InternKon: 925 161 40 / 200
|
|
|
|
05 |
510 741 98
|
Resilient sleeve |
4 |
InternBDB: 13/25x50 | InternKon: 925 161 40 / 201
|
|
|
|
07 |
928 007 40
|
Pipe assy. |
1 |
InternKon: 933 809 40 / 7
|
|
|
|
11 |
933 812 40
|
Pipe assy. |
1 |
InternKon: 933 809 40 / 11
|
|
|
|
12 |
928 012 40
|
Pipe assy. |
1 |
InternKon: 933 809 40 / 12
|
|
|
|
14 |
933 815 40
|
Pipe assy. |
1 |
InternKon: 933 809 40 / 103
|
|
|
|
15 |
933 819 40
|
Pipe assy. |
1 |
InternKon: 933 809 40 / 119
|
|
|
|
18 |
928 018 40
|
Pipe assy. |
1 |
InternKon: 933 809 40 / 18
|
|
|
|
19 |
928 019 40
|
Pipe assy. |
3 |
InternKon: 933 809 40 / 19
|
|
|
|
20 |
928 020 40
|
Pipe assy. |
1 |
InternKon: 933 809 40 / 20
|
|
|
|
21 |
928 021 40
|
Pipe assy. |
1 |
InternKon: 933 809 40 / 21
|
|
|
|
23 |
928 023 40
|
Pipe assy. |
1 |
InternKon: 933 809 40 / 23
|
|
|
|
26 |
928 026 40
|
Pipe assy. |
1 |
InternKon: 933 809 40 / 26
|
|
|
|
33 |
928 033 40
|
Pipe assy. |
1 |
InternKon: 933 809 40 / 33
|
|
|
|
34 |
928 034 40
|
Pipe assy. |
1 |
InternKon: 933 809 40 / 34
|
|
|
|
35 |
928 035 40
|
Pipe assy. |
1 |
InternKon: 933 809 40 / 35
|
|
|
|
43 |
933 801 40
|
Pipe assy. |
1 |
InternKon: 933 809 40 / 101
|
|
|
|
46 |
928 046 40
|
Pipe assy. |
1 |
InternKon: 933 809 40 / 46
|
|
|
|
50 |
928 050 40
|
Pipe assy. |
4 |
InternKon: 933 809 40 / 50
|
|
|
|
52 |
928 052 40
|
Pipe assy. |
1 |
InternKon: 933 809 40 / 52
|
|
|
|
54 |
928 054 40
|
Pipe assy. |
1 |
InternKon: 933 809 40 / 54
|
|
|
|
55 |
928 055 40
|
Pipe assy. |
1 |
InternKon: 933 809 40 / 55
|
|
|
|
59 |
933 814 40
|
Pipe assy. |
1 |
InternKon: 933 809 40 / 59
|
|
|
|
61 |
933 813 40
|
Pipe assy. |
1 |
InternKon: 933 809 40 / 61
|
|
|
|
62 |
933 816 40
|
Pipe assy. |
1 |
InternKon: 933 809 40 / 62
|
|
|
|
63 |
933 820 40
|
Pipe assy. |
1 |
InternKon: 933 809 40 / 120
|
|
|
|
64 |
928 064 40
|
Pipe assy. |
1 |
InternKon: 933 809 40 / 64
|
|
|
|
65 |
933 807 40
|
Pipe assy. |
1 |
InternKon: 933 809 40 / 107
|
|
|
|
66 |
928 066 40
|
Pipe assy. |
1 |
InternKon: 933 809 40 / 66
|
|
|
|
67 |
933 806 40
|
Pipe assy. |
1 |
InternKon: 933 809 40 / 106
|
|
|
|
68 |
928 068 40
|
Pipe assy. |
1 |
InternKon: 933 809 40 / 68
|
|
|
|
69 |
928 069 40
|
Pipe assy. |
1 |
InternKon: 933 809 40 / 69
|
|
|
|
70 |
928 070 40
|
Pipe assy. |
1 |
InternKon: 933 809 40 / 70
|
|
|
|
71 |
928 071 40
|
Pipe assy. |
1 |
InternKon: 933 809 40 / 71
|
|
|
|
72 |
928 072 40
|
Pipe assy. |
1 |
InternKon: 933 809 40 / 72
|
|
|
|
73 |
933 810 40
|
Pipe assy. |
1 |
InternKon: 933 809 40 / 110
|
|
|
|
74 |
933 817 40
|
Pipe assy. |
1 |
InternKon: 933 809 40 / 117
|
|
|
|
75 |
928 075 40
|
Pipe assy. |
1 |
InternKon: 933 809 40 / 75
|
|
|
|
76 |
928 076 40
|
Pipe assy. |
1 |
InternKon: 933 809 40 / 76
|
|
|
|
77 |
928 077 40
|
Pipe assy. |
1 |
InternKon: 933 809 40 / 77
|
|
|
|
78 |
928 078 40
|
Pipe assy. |
1 |
InternKon: 933 809 40 / 78
|
|
|
|
79 |
928 079 40
|
Pipe assy. |
1 |
InternKon: 933 809 40 / 79
|
|
|
|
80 |
928 080 40
|
Pipe assy. |
1 |
InternKon: 933 809 40 / 80
|
|
|
|
82 |
928 082 40
|
Pipe assy. |
1 |
InternKon: 933 809 40 / 82
|
|
|
|
83 |
933 802 40
|
Pipe assy. |
1 |
InternKon: 933 809 40 / 102
|
|
|
|
84 |
928 084 40
|
Pipe assy. |
1 |
InternKon: 933 809 40 / 84
|
|
|
|
85 |
928 085 40
|
Pipe assy. |
1 |
InternKon: 933 809 40 / 85
|
|
|
|
86 |
928 086 40
|
Pipe assy. |
1 |
InternKon: 933 809 40 / 86
|
|
|
|
87 |
928 087 40
|
Pipe assy. |
1 |
InternKon: 933 809 40 / 87
|
|
|
|
111 |
933 811 40
|
Pipe assy. |
1 |
InternKon: 933 809 40 / 111
|
|
|
|
112 |
934 928 40
|
Pressure switch assy. consist. of fig-nos. 114+115 |
2 |
InternBDB: 7 bar SchlieЯer G 1/4" SUKO | InternKon: 933 809 40 / 112
|
|
|
|
113 |
371 949 99
|
Union |
2 |
InternBDB: MAV-EV 12-LR | InternKon: 933 809 40 / 113
|
|
|
|
114 |
932 609 40
|
Diaphragm type pressure switch |
1 |
InternBDB: 7 bar SUKO | InternKon: 934 928 40 / 1
|
|
|
|
115 |
515 460 40
|
Bonded seal |
1 |
InternBDB: 14x18,7x1NSA Busak+Shamb | InternKon: 934 928 40 / 2
|
|
|
|
130 |
907 819 40
|
Union |
6 |
InternBDB: ET 12L SA2 OMD | InternKon: 933 809 40 / 130
|
|
|
|
131 |
516 167 98
|
Socket |
8 |
InternBDB: L 12 /3943 | InternKon: 933 809 40 / 131
|
|
|
|
132 |
516 174 98
|
Socket |
12 |
InternBDB: L 12 /3944 | InternKon: 933 809 40 / 132
|
|
|
|
133 |
516 157 98
|
Socket |
3 |
InternBDB: L 12 /3942 | InternKon: 933 809 40 / 133
|
|
|
|
134 |
374 430 99
|
Union |
15 |
InternBDB: SDS-L12XM16x1,5 ISO 8434 | InternKon: 933 809 40 / 134
|
|
|
|
135 |
371 459 99
|
Union |
19 |
InternBDB: SDS-L12XG 3/8A | InternKon: 933 809 40 / 135
|
|
|
|
136 |
509 267 98
|
Nut |
43 |
InternBDB: M18x1,5 /80705 | InternKon: 933 809 40 / 136
|
|
|
|
137 |
634 499 40
|
Union |
1 |
InternBDB: K-L 12 ISO 8434 | InternKon: 933 809 40 / 137
|
|
|
|
138 |
511 015 98
|
Union |
5 |
InternBDB: T-L 12 ISO 8434 | InternKon: 933 809 40 / 138
|
|
|
|
139 |
516 962 98
|
Union |
37 |
InternBDB: BH-L 12 ISO 8434 | InternKon: 933 809 40 / 139
|
|
|
|
140 |
502 752 98
|
Coupling |
1 |
InternBDB: 12-L WN 341 985 40 | InternKon: 933 809 40 / 140
|
|
|
|
150 |
513 854 98
|
Bolt |
4 |
InternBDB: M12x25 DIN00933 | InternKon: 933 809 40 / 150
|
|
|
|
151 |
307 732 99
|
Bolt |
19 |
InternBDB: M6x25 DIN00933 | InternKon: 933 809 40 / 151
|
|
|
|
152 |
514 340 98
|
Screw |
20 |
InternBDB: M5x30 DIN00912 | InternKon: 933 809 40 / 152
|
|
|
|
153 |
507 025 98
|
Nut |
25 |
InternBDB: M6 DIN00985 | InternKon: 933 809 40 / 153
|
|
|
|
154 |
509 488 98
|
Nut |
4 |
InternBDB: M12 DIN00985 | InternKon: 933 809 40 / 154
|
|
|
|
155 |
340 467 99
|
Washer |
4 |
InternBDB: B 13 DIN00125 | InternKon: 933 809 40 / 155
|
|
|
|
156 |
343 106 99
|
Lock washer |
20 |
InternBDB: 6 DIN00127 | InternKon: 933 809 40 / 156
|
|
|
|
157 |
255 694 40
|
Plug |
1 |
InternBDB: Vsti R 3/8 ED | InternKon: 933 809 40 / 157
|
|
|
|
158 |
308 534 99
|
Bolt |
20 |
InternBDB: M6x30 8.8 DIN00931 | InternKon: 933 809 40 / 158
|
|
|
|
160 |
907 820 40
|
Shuttle valve |
1 |
InternKon: 933 809 40 / 160
|
|
|
|
161 |
343 873 40
|
Shuttle valve |
4 |
InternBDB: 12-L 690997 Voss | InternKon: 933 809 40 / 161
|
|
|
|
162 |
414 370 40
|
Valve |
3 |
InternBDB: NG 6 (MO-7204) MH3WA 06 UG1X/004MO2 | InternKon: 933 809 40 / 162
|
|
|
|
163 |
940 731 40
|
4/2 way directional spool valve |
4 |
InternBDB: 4/2 WEGEVENTIL 02-411977 DG4V-3M-8BL-VM-KUP5D-H7-61 | InternKon: 933 809 40 / 163
|
|
|
|
164 |
940 730 40
|
4/2 way directional spool valve |
1 |
InternBDB: 4/2 WEGEVENTIL 02-411976 DG4V 3M 0A-M-KUP5D-H7-60 | InternKon: 933 809 40 / 164
|
|
|
|
165 |
308 544 99
|
Bolt |
6 |
InternBDB: M6x80 DIN00931 | InternKon: 933 809 40 / 165
|
|
|
|
185 |
928 099 40
|
Marking strips, top |
1 |
InternKon: 933 809 40 / 185
|
|
|
|
186 |
928 097 40
|
Marking strips, lower |
1 |
InternKon: 933 809 40 / 186
|
|
|
|
187 |
928 098 40
|
Marking strips, center |
1 |
InternKon: 933 809 40 / 187
|
|
|
|
189 |
180 325 40
|
Base plate |
5 |
InternBDB: G 342/1 3/8" Rexroth | InternKon: 933 809 40 / 189
|
|
|
|
190 |
928 004 40
|
Rib |
2 |
InternBDB: S355J2G3 | InternKon: 933 809 40 / 190
|
|
|
|
191 |
928 003 40
|
Bridge |
1 |
InternBDB: S355J2G3 | InternKon: 933 809 40 / 191
|
|
|
|
192 |
928 091 40
|
Strip |
1 |
InternBDB: LEISTE PC 3000- 6 | InternKon: 933 809 40 / 192
|
|
|
|
193 |
928 092 40
|
Cable strip |
1 |
InternBDB: KABELLEISTE PC 3000- 6 | InternKon: 933 809 40 / 193
|
|
|
|
194 |
533 986 99
|
Plate |
11 |
InternBDB: A-PLATTE L-AP-K-1 W1 DIN 03015 | InternKon: 933 809 40 / 194
|
|
|
|
195 |
533 985 99
|
Clamp |
12 |
InternBDB: KLEMMHPAAR L-1-R-12 PP DIN 03015 | InternKon: 933 809 40 / 195
|
|
|
|
196 |
510 681 98
|
Plate |
1 |
InternBDB: D-PLATTE L-1 ST A3C DIN 03015 | InternKon: 933 809 40 / 196
|
|
|
|
197 |
308 540 99
|
Screw |
2 |
InternBDB: M6X60 8.8 DIN00931 | InternKon: 933 809 40 / 197
|
|
|
|
198 |
516 159 98
|
Socket |
2 |
InternBDB: SWE-L 18 ST-NBR ISO 08434-4 | InternKon: 933 809 40 / 198
|
|
|
|
199 |
511 135 98
|
Socket |
3 |
InternBDB: T-L 18 ST A3C ISO 08434 | InternKon: 933 809 40 / 199
|
|
|
|
200 |
517 913 98
|
Socket |
2 |
InternBDB: BH-L 18 ST A3C ISO 08434 | InternKon: 933 809 40 / 200
|
|
|
|
201 |
634 303 40
|
Union |
1 |
InternBDB: VERSHR RED 18/12-PL/OMD ST A3C | InternKon: 933 809 40 / 201
|
|
|
|
202 |
516 174 98
|
Socket |
1 |
InternBDB: STUTZEN L12 ST-NBR DIN 03944 | InternKon: 933 809 40 / 202
|
|
|
|
204 |
515 865 98
|
Socket |
3 |
InternBDB: STUTZEN GZR 18/12-PL ST A3C WN 65591040 | InternKon: 933 809 40 / 204
|
|
|
|
205 |
371 274 99
|
Union nut |
90 |
InternBDB: N-L 12 ST ZN ISO 08434 | InternKon: 933 809 40 / 205
|
|
|
|
206 |
906 347 40
|
Olive |
90 |
InternBDB: ES-4 S12 WN65593940 | InternKon: 933 809 40 / 206
|
|
|
|
207 |
371 276 99
|
Union nut |
8 |
InternBDB: N-L 18 ST ZN ISO 08434 | InternKon: 933 809 40 / 207
|
|
|
|
208 |
906 349 40
|
Olive |
8 |
InternBDB: ES-4 L18 WN65593940 | InternKon: 933 809 40 / 208
|
|
|
|
209 |
509 271 98
|
Nut |
2 |
InternBDB: MU M26X1,5 ST DIN 80705 | InternKon: 933 809 40 / 209
|
|