|
|
? |
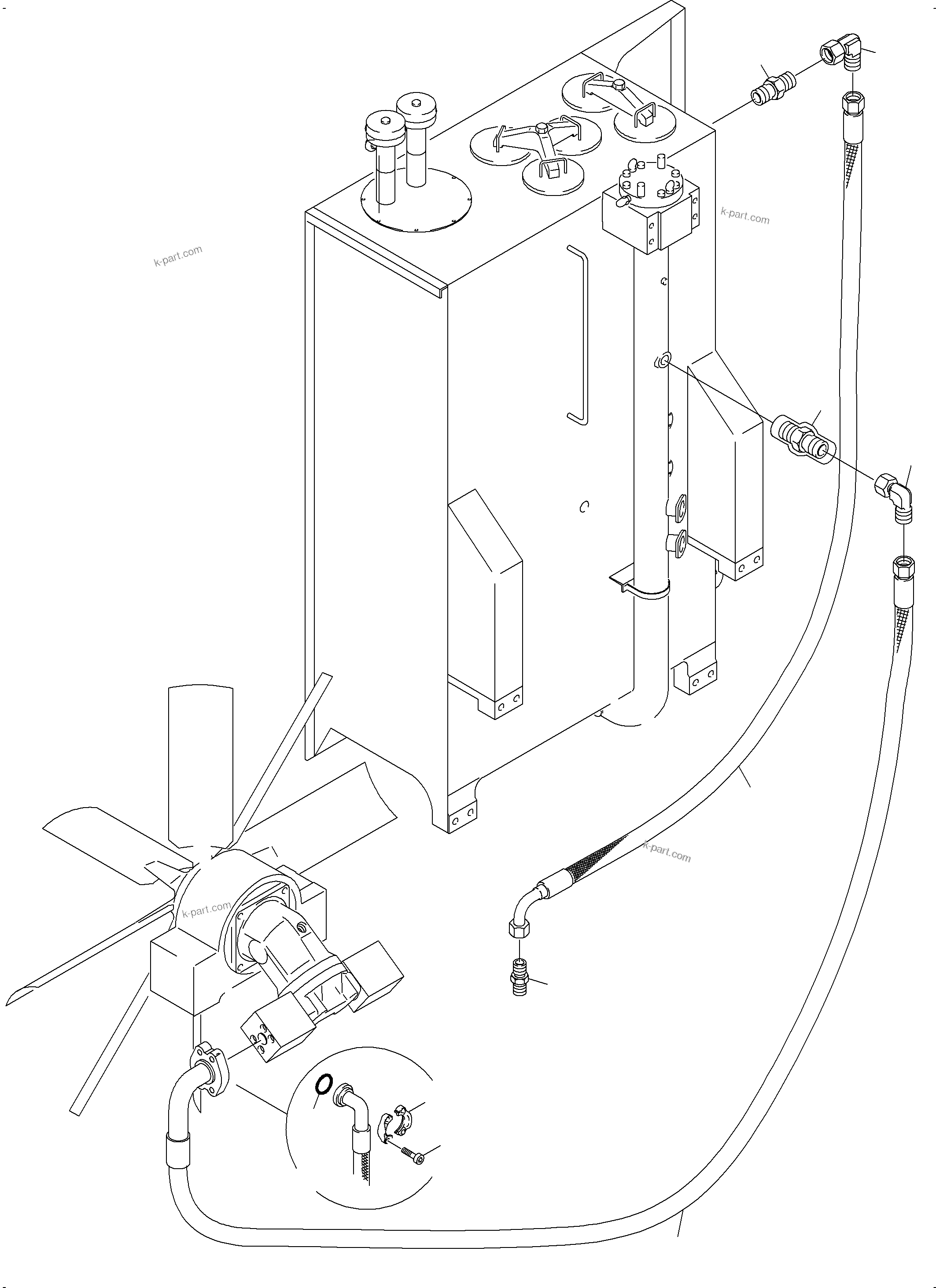
949 041 40
|
Pipe 20x3 |
2 |
InternBDB: DIN02391 | InternKon: 942 290 40 / 15
|
|
|
|
? |
906 927 40
|
Valve |
1 |
InternBDB: RHD 20-PS | InternKon: 942 290 40 / 16
|
|
|
|
? |
637 828 40
|
Distribution block |
2 |
InternKon: 942 290 40 / 27
|
|
|
|
? |
321 611 99
|
Bolt |
8 |
InternBDB: M 14x85 / 912 / 10.9 | InternKon: 942 290 40 / 28
|
|
|
|
? |
906 926 40
|
Union |
2 |
InternBDB: Voss 20-SM | InternKon: 942 290 40 / 17
|
|
|
|
? |
356 210 40
|
O-ring |
2 |
InternBDB: 1 1/4 NBR 90 | InternKon: 942 290 40 / 29
|
|
|
|
? |
518 197 98
|
Hose assy. DN 32x6200 |
1 |
InternBDB: DOS 38 / FS11/4 90 * / WN 34195140 | InternKon: 902 075 40 / 17
|
|
|
|
? |
006 638 98
|
Half flange |
2 |
InternBDB: 32 / 420 | InternKon: 902 075 40 / 18
|
|
|
|
? |
319 209 99
|
Bolt |
4 |
InternBDB: M 14x45 / 912 / 10.9 | InternKon: 902 075 40 / 19
|
|
|
|
? |
518 316 98
|
Hose assy. DN 25x1800 |
1 |
InternBDB: 350 DOS 38 FS 1 - 90 | InternKon: 902 075 40 / 7
|
|
|
|
? |
324 524 40
|
O-ring |
2 |
InternBDB: 1" NBR 90 | InternKon: 902 075 40 / 9
|
|
|
|
? |
006 637 98
|
Half flange |
4 |
InternBDB: 25 / 420 | InternKon: 902 075 40 / 10
|
|
|
|
? |
319 273 99
|
Bolt |
8 |
InternBDB: M 12x35 / 912 | InternKon: 902 075 40 / 11
|
|
|
|
? |
374 408 99
|
Socket |
1 |
InternBDB: L 18E-M / 3901 | InternKon: 902 080 40 / 48
|
|
|
|
? |
516 158 98
|
Socket |
1 |
InternBDB: L 15 / 3942 | InternKon: 902 080 40 / 49
|
|
|
|
? |
374 422 99
|
Socket |
1 |
InternBDB: L 35E-M / 3901 | InternKon: 902 080 40 / 51
|
|
|
|
? |
518 196 98
|
Hose assy. DN 32x7300 |
1 |
InternBDB: 120 DOL 38 FS 1 1/4 - 90 | InternKon: 902 080 40 / 13
|
|
|
|
? |
518 195 98
|
Hose assy. DN 12x8700 |
1 |
InternBDB: DOL 15 / DOL 18-90 | InternKon: 902 080 40 / 14
|
|
|
|
? |
374 407 99
|
Socket |
1 |
InternBDB: L 15 E-M / 3901 | InternKon: 902 080 40 / 47
|
|
|
|
? |
516 162 98
|
Socket |
1 |
InternBDB: L 35 / 3942 | InternKon: 902 080 40 / 110
|
|