|
|
01 |
923 720 40
|
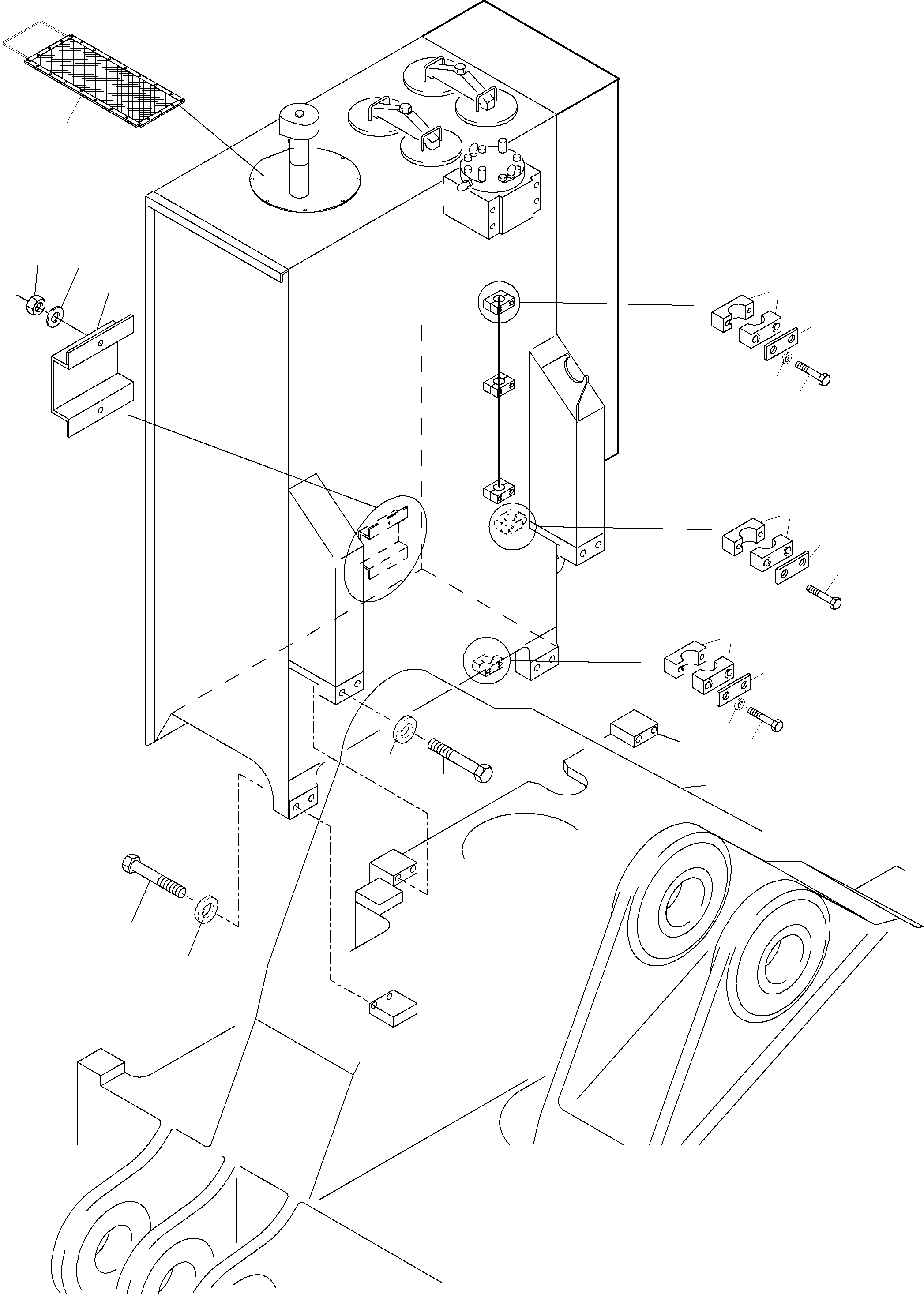
Oil tank |
1 |
InternKon: 919 902 40 / 9
|
|
|
|
02 |
923 710 40
|
Oil tank weldment |
1 |
InternKon: 923 720 40 / 1
|
|
|
|
03 |
933 882 40
|
Valve block, incl. fig-nos: 04, 05 |
1 |
InternKon: 923 720 40 / 2
|
|
|
|
04 |
631 091 40
|
Valve block |
1 |
InternKon: 933 882 40 / 1
|
|
|
|
05 |
|
Pressure relief valve |
1 |
InternBDB: 907 048 40 | InternKon: 933 882 40 / 2
|
991-0413 |
|
|
08 |
910 951 40
|
Filter cover |
4 |
InternKon: 923 720 40 / 4
|
|
|
|
09 |
930 078 40
|
Cover |
4 |
InternKon: 923 720 40 / 5
|
|
|
|
10 |
923 744 40
|
Cover |
1 |
InternKon: 923 720 40 / 6
|
|
|
|
11 |
436 040 40
|
U-bolt |
2 |
InternKon: 923 720 40 / 7
|
|
|
|
12 |
366 504 40
|
Spring |
4 |
InternBDB: 10x50x107 / 2098 | InternKon: 923 720 40 / 8
|
|
|
|
13 |
910 954 40
|
Bushing |
4 |
InternKon: 923 720 40 / 9
|
|
|
|
14 |
940 730 40
|
4/2 way directional spool valve |
1 |
InternBDB: 4/2 WEGEVENTIL 02-411976 DG4V 3M 0A-M-KUP5D-H7-60 | InternKon: 923 720 40 / 55
|
|
|
|
16 |
255 694 40
|
Plug |
2 |
InternBDB: Vsti R 3/8 ED | InternKon: 923 720 40 / 12
|
|
|
|
17 |
|
Return oil filter |
3 |
InternBDB: 906 469 40 | InternKon: 923 720 40 / 13
|
991-0348 |
|
|
18 |
|
Filter |
1 |
InternBDB: 440 479 40 | InternKon: 923 720 40 / 14
|
090-5586 |
|
|
19 |
904 748 40
|
Trap with plug |
1 |
InternBDB: CAVO PN 1016, Typ 106 021 | InternKon: 923 720 40 / 15
|
|
|
|
20 |
180 325 40
|
Base plate |
1 |
InternBDB: G 342/1 | InternKon: 923 720 40 / 56
|
|
|
|
21 |
514 340 98
|
Screw |
4 |
InternBDB: M5x30 /912 10.9 | InternKon: 923 720 40 / 57
|
|
|
|
22 |
916 746 40
|
Gasket |
1 |
InternKon: 923 720 40 / 18
|
|
|
|
23 |
907 670 40
|
Limit switch |
1 |
InternBDB: Schaefer KL-ZES
|
|
|
|
25 |
389 472 40
|
Gasket |
1 |
InternKon: 923 720 40 / 21
|
|
|
|
26 |
440 723 40
|
Compensator |
1 |
InternKon: 923 720 40 / 22
|
|
|
|
27 |
502 119 98
|
O-ring |
4 |
InternBDB: 269,3x5,7 B NB70 | InternKon: 923 720 40 / 23
|
|
|
|
28 |
942 484 40
|
Retainer |
1 |
InternKon: 923 720 40 / 58
|
|
|
|
29 |
319 132 99
|
Bolt |
2 |
InternBDB: M6x25 /912 | InternKon: 923 720 40 / 59
|
|
|
|
30 |
304 309 99
|
Bolt |
2 |
InternBDB: M30x200/931 | InternKon: 923 720 40 / 26
|
|
|
|
31 |
505 449 98
|
Bolt |
4 |
InternBDB: M24x350/931 10.9 | InternKon: 923 720 40 / 27
|
|
|
|
32 |
307 845 99
|
Bolt |
2 |
InternBDB: M20x50/933 | InternKon: 923 720 40 / 28
|
|
|
|
33 |
507 025 98
|
Nut |
2 |
InternBDB: M 6 /985 | InternKon: 923 720 40 / 65
|
|
|
|
34 |
371 459 99
|
Socket |
2 |
InternBDB: SDS-L12XG 3/8 ISO 08434 | InternKon: 923 720 40 / 72
|
|
|
|
35 |
307 752 99
|
Bolt |
8 |
InternBDB: M8x20/933 | InternKon: 923 720 40 / 31
|
|
|
|
36 |
516 157 98
|
Union |
2 |
InternBDB: DDL 12 / 3942 | InternKon: 923 720 40 / 73
|
|
|
|
38 |
308 874 99
|
Bolt |
4 |
InternBDB: M16x130/931 | InternKon: 923 720 40 / 34
|
|
|
|
39 |
334 686 99
|
Nut |
6 |
InternBDB: M20/985 | InternKon: 923 720 40 / 35
|
|
|
|
40 |
515 553 98
|
Hose assy. DN 10x700 |
1 |
InternBDB: DOL 12 /DOL 12 | InternKon: 923 720 40 / 68
|
|
|
|
42 |
316 213 99
|
Washer |
2 |
InternBDB: 25/6916 | InternKon: 923 720 40 / 38
|
|
|
|
43 |
516 175 98
|
Union |
1 |
InternBDB: SWRT-L15 / 8434 | InternKon: 923 720 40 / 69
|
|
|
|
44 |
551 987 40
|
Union |
2 |
InternBDB: Red 15/12-PL OMD | InternKon: 923 720 40 / 71
|
|
|
|
45 |
346 510 99
|
Lock washer |
8 |
InternBDB: A8/128 | InternKon: 923 720 40 / 41
|
|
|
|
47 |
374 407 99
|
Union |
1 |
InternBDB: SDS-L15 x M18x1,5 /8434 | InternKon: 923 720 40 / 43
|
|
|
|
48 |
515 820 98
|
Hose assy. DN 12x530 |
1 |
InternBDB: DOL 15 /DOL 15-90 | InternKon: 923 720 40 / 44
|
|
|
|
49 |
907 594 40
|
Fluid level sensor with swimming ball fig.-nos.: 50, 51 |
1 |
InternBDB: 780 / M 14x1,5 Interlog | InternKon: 923 720 40 / 36
|
|
|
|
50 |
511 602 98
|
Banjo bolt |
2 |
InternBDB: HS10 14x1,5 TN A3CX Din 7643
|
|
|
|
51 |
972 009
|
O-ring |
2 |
InternBDB: 15,88x2,26 NBR
|
|
|
|
52 |
940 022 40
|
Plug |
1 |
InternBDB: M64x2 ED INTERHYDRAU | InternKon: 923 720 40 / 48
|
|
|
|
54 |
374 436 99
|
Socket |
2 |
InternBDB: L 15 E-G 1/2 /3901 | InternKon: 923 720 40 / 74
|
|
|
|
55 |
515 812 98
|
Coupling |
2 |
InternBDB: G 1/4 - PC | InternKon: 923 720 40 / 51
|
|
|
|
56 |
180 477 40
|
Union |
1 |
InternBDB: Vsti G 1/2 ed | InternKon: 923 720 40 / 52
|
|
|
|
57 |
308 670 99
|
Bolt |
4 |
InternBDB: M20x100 /931 | InternKon: 923 720 40 / 60
|
|
|
|
58 |
308 675 99
|
Bolt |
6 |
InternBDB: M20x150 /931 | InternKon: 923 720 40 / 61
|
|
|
|
59 |
500 716 40
|
Flange |
1 |
InternKon: 923 720 40 / 62
|
|
|
|
60 |
340 470 99
|
Disc |
12 |
InternKon: 923 720 40 / 63
|
|
|
|
61 |
|
Return oil filter |
1 |
InternBDB: 906 471 40 | InternKon: 923 720 40 / 64
|
991-0350 |
|
|
63 |
324 741 40
|
Plug |
4 |
InternBDB: F 26 | InternKon: 923 720 40 / 75
|
|
|
|
64 |
255 694 40
|
Plug |
2 |
InternBDB: Vsti R 3/8 ED
|
|
|
|
65 |
533 989 99
|
Weld on plate |
1 |
InternBDB: L-AP-K-2 W1 / 3015 | InternKon: 923 720 40 / 45
|
|
|
|
66 |
502 631 98
|
Clamp Set |
5 |
InternBDB: L-2-G-16 PP / 3015 | InternKon: 923 720 40 / 46
|
|
|
|
67 |
319 132 99
|
Bolt |
2 |
InternBDB: M 6x25 / 912 | InternKon: 923 720 40 / 47
|
|
|
|
70 |
926 952 40
|
Strainer |
1 |
InternKon: 923 720 40 / 79
|
|
|
|
71 |
534 008 99
|
Cover plate |
3 |
InternBDB: S-DP-A-4 | InternKon: 923 720 40 / 10
|
|
|
|
72 |
308 599 99
|
Bolt |
6 |
InternBDB: M 12x105 / 931 | InternKon: 923 720 40 / 16
|
|
|
|
73 |
343 006 99
|
Washer |
6 |
InternBDB: 13 | InternKon: 923 720 40 / 17
|
|
|
|
74 |
505 058 98
|
Clamp Set |
3 |
InternBDB: S-4-G-70 PP / 3015 | InternKon: 923 720 40 / 19
|
|
|
|
75 |
504 923 98
|
Clamp Set |
1 |
InternBDB: S-3-G-32 PP / 3015 | InternKon: 923 720 40 / 24
|
|
|
|
76 |
308 581 99
|
Bolt |
2 |
InternBDB: M 10x70 | InternKon: 923 720 40 / 25
|
|
|
|
77 |
343 005 99
|
Washer |
2 |
InternBDB: 10,5 | InternKon: 923 720 40 / 29
|
|
|
|
78 |
534 004 99
|
Cover plate |
1 |
InternBDB: S-DP-A-3 W1 / 3015 | InternKon: 923 720 40 / 30
|
|
|
|
83 |
511 718 98
|
Clamp Set |
2 |
InternBDB: S-6-E PA / 3015 | InternKon: 923 720 40 / 66
|
|
|
|
84 |
511 196 98
|
Cover plate |
2 |
InternBDB: S-DP-A-6 W1 / 3015 | InternKon: 923 720 40 / 67
|
|
|
|
85 |
308 679 99
|
Bolt |
4 |
InternBDB: M 20x190 | InternKon: 923 720 40 / 70
|
|
|
|
86 |
925 178 40
|
Guide |
1 |
InternKon: 923 720 40 / 76
|
|
|
|
87 |
925 177 40
|
Extension |
1 |
InternKon: 923 720 40 / 77
|
|
|
|
88 |
345 052 99
|
Cotter pin |
3 |
InternBDB: 6x36 | InternKon: 923 720 40 / 78
|
|
|
|
90 |
302 552 99
|
Bolt |
2 |
InternBDB: M30x120 / 931 | InternKon: 919 902 40 / 31
|
|
|
|
91 |
502 082 98
|
Bolt |
2 |
InternBDB: M30x250 /931 | InternKon: 919 902 40 / 32
|
|
|
|
92 |
255 057 40
|
Washer |
4 |
InternBDB: Ш31 /6916 | InternKon: 919 902 40 / 29
|
|
|
|
94 |
516 041 98
|
Hose assy. DN 10x400 |
1 |
InternBDB: DOL 12 DOL 12-90 | InternKon: 923 720 40 / 83
|
|
|
|
95 |
930 923 40
|
Plate |
1 |
InternKon: 923 720 40 / 80
|
|
|
|
96 |
507 037 98
|
Nut |
7 |
InternBDB: M10/985 | InternKon: 923 720 40 / 81
|
|
|
|
97 |
340 465 99
|
Washer |
3 |
InternBDB: 10,5/125 | InternKon: 923 720 40 / 82
|
|
|
|
98 |
942 441 40
|
Cap |
1 |
InternBDB: 2x175x300 | InternKon: 923 720 40 / 84
|
|
|
|
99 |
340 467 99
|
Washer |
4 |
InternBDB: 13 DIN00125 | InternKon: 923 720 40 / 85
|
|
|
|
100 |
943 689 40
|
Cable Cover |
1 |
InternKon: 923 720 40 / 86
|
|
|
|
101 |
942 485 40
|
Angle |
1 |
InternBDB: 100x10x30 | InternKon: 923 720 40 / 87
|
|
|
|
102 |
517 122 98
|
Washer |
2 |
InternBDB: 10 WN65593840 | InternKon: 923 720 40 / 88
|
|
|
|
103 |
307 777 99
|
Bolt |
2 |
InternBDB: M10x25 8.8 DIN00933 | InternKon: 923 720 40 / 89
|
|
|
|
105 |
933 852 40
|
Decal oil level |
1 |
InternKon: 928 397 40 / 8
|
|
|
|
106 |
509 875 98
|
Thread pin |
4 |
|
|
|
|
107 |
507 596 98
|
Washer |
4 |
InternBDB: SHB A 11 ST DIN 07989 | InternKon: 928 397 40 / 29
|
|
|
|
108 |
340 507 99
|
Washer |
4 |
InternBDB: SHB A 8,4 140HV DIN 00125 | InternKon: 928 397 40 / 30
|
|
|
|
109 |
334 599 99
|
Nut |
4 |
InternBDB: 6KTMU M 8 8 DIN 00985 | InternKon: 928 397 40 / 31
|
|