|
|
01 |
939 882 40
|
Switch cabinet assy. |
1 |
InternBDB: TL /Fa. AK 07/11/036.06262.0501
|
|
|
|
02 |
940 907 40
|
Fastener r.h |
-2 |
|
|
|
|
03 |
621 983 40
|
Band roller with grease nipple |
6 |
InternBDB: 1033 U7 /K20 100 mm
|
|
|
|
04 |
592 259 40
|
Profiled joint |
-2 |
InternBDB: GHE 461 0075
|
|
|
|
05 |
|
Door |
1 |
|
|
|
|
06 |
|
Door |
2 |
|
|
|
|
07 |
445 211 40
|
Cover |
1 |
|
|
|
|
08 |
081 323 40
|
Hinge |
2 |
InternBDB: GHE 601 0003
|
|
|
|
09 |
457 799 40
|
Bolt |
1 |
|
|
|
|
10 |
346 510 99
|
Lock washer |
1 |
InternBDB: 8 /128
|
|
|
|
11 |
345 176 99
|
Dowel pin |
1 |
InternBDB: 2x14 /1481
|
|
|
|
12 |
332 332 99
|
Nut |
1 |
InternBDB: M 8 /934
|
|
|
|
13 |
463 700 40
|
Seal 8x70x70 |
1 |
|
|
|
|
14 |
765 736 73
|
Limit switch |
3 |
InternBDB: TK 4236-11 Z Schmersal
|
|
|
|
15 |
940 906 40
|
Fastener l.h |
-2 |
|
|
|
|
16 |
764 586 73
|
Fuse 200A |
3 |
InternBDB: SIBA 301 0014.200
|
|
|
|
18 |
797 354 73
|
AC-dry transformer |
1 |
InternBDB: Bьrkle+Schцck DHKA120115 55 kVA DYN 5/50Hz 6200/400V230V
|
|
|
|
19 |
308 426 99
|
Bolt |
4 |
InternBDB: M16x80 /931
|
|
|
|
20 |
510 729 98
|
Resilient sleeve |
4 |
|
|
|
|
21 |
796 789 73
|
Excess-voltage dicharger |
3 |
InternBDB: Spa -09-I-M 12 9KV 10KA
|
|
|
|
22 |
764 102 73
|
Fuse 16 A |
3 |
InternBDB: 300 0213.16 Siba
|
|
|
|
23 |
792 868 73
|
Overvoltage limiter |
3 |
InternBDB: Siemens 3EF 1072-OA 7,2KV
|
|
|
|
24 |
797 355 73
|
Potential transformer |
2 |
InternBDB: Ritz-MeЯwandler GSZ 6 KL 1 Reihe 7,2 6200/100 50 Hz 30 VA
|
|
|
|
25 |
797 495 73
|
Load-break switch 12 kV, 400A |
1 |
InternBDB: ABB Calor-Emag CK3L-1004-151
|
|
|
|
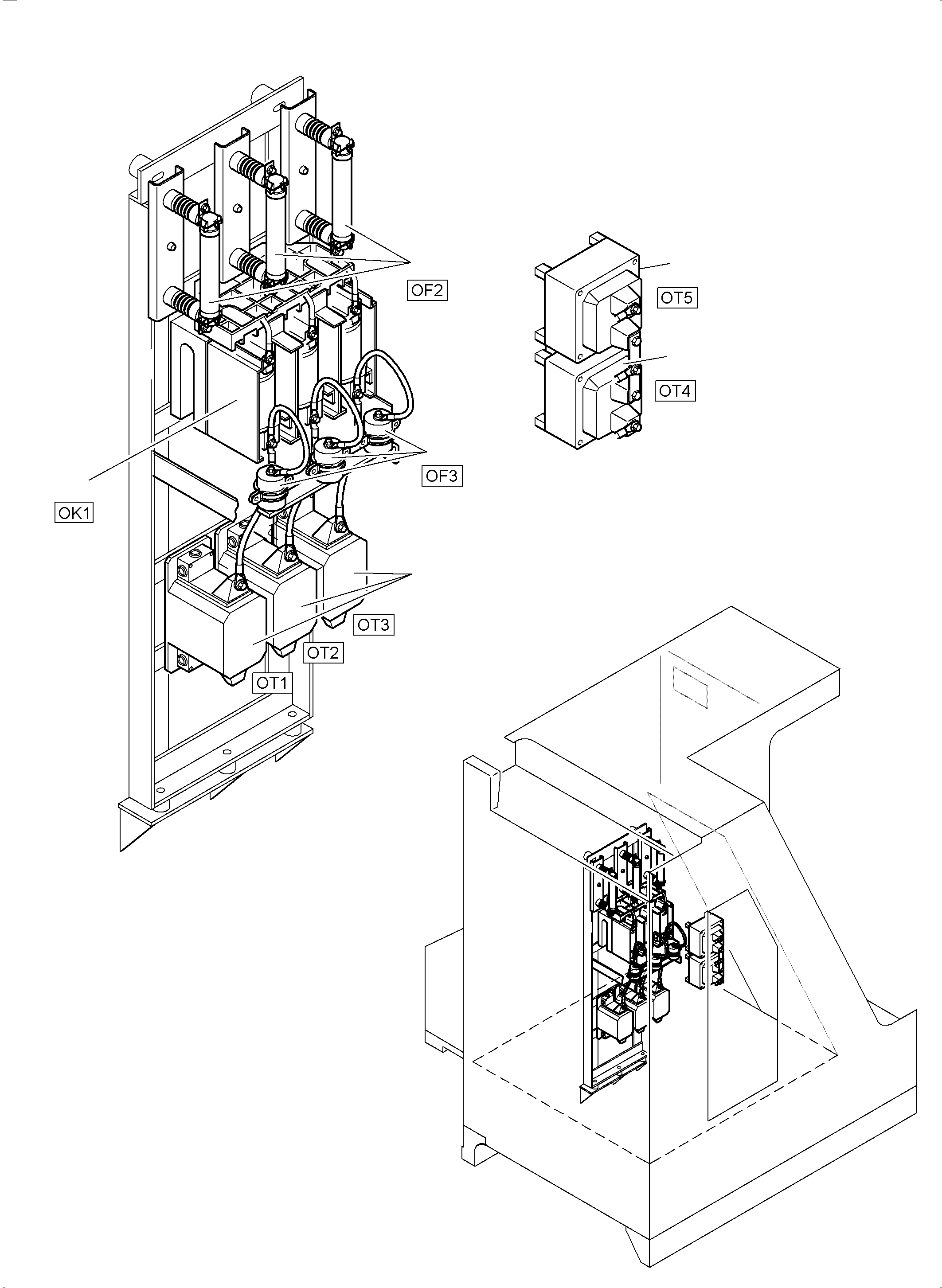
35 |
793 906 73
|
Current transformer |
3 |
InternBDB: Ritz-MeЯwandler GSW 12/0 125/5A, 50 Hz 30 VA in Kl 5P10
|
|
|
|
36 |
795 553 73
|
Vacuum contactor |
1 |
InternBDB: Siemens 3 TL 6113-OAL2 450A 7,2KV 50/60HZ 230V
|
|
|
|
37 |
796 788 73
|
Temperatur sensor |
2 |
InternBDB: Kidde Fenwal 27000 24VDC
|
|
|
|
38 |
761 576 73
|
Thermostat |
2 |
InternBDB: Alco Controls TS1-A5F (-25 ?+75Grad C)
|
|
|
|
39 |
766 506 73
|
Hydrostat |
1 |
InternBDB: JCI EHBC 111 (HC-1240-7001) 70%
|
|
|
|
40 |
796 766 73
|
Fan heater 2000 W |
2 |
InternBDB: GH2 AC 230V 2000W LM-Therm
|
|
|
|
41 |
896 781 40
|
Battery charger |
2 |
InternBDB: Matservolt 24/100 04-10-21000
|
|
|
|
42 |
769 099 73
|
Ammeter |
1 |
InternBDB: DS 72 AQ 0-100 A
|
|
|
|
43 |
769 100 73
|
Voltmeter |
1 |
InternBDB: DS72 AQ 0-40 V
|
|
|
|
44 |
795 345 73
|
Control switch |
1 |
InternBDB: Siemens 3 SB 3201-2KA11
|
|
|
|
45 |
696 876 73
|
LED-indicator, green |
1 |
InternBDB: Magtron 171 0002
|
|
|
|
46 |
762 045 73
|
LED-indicator, red |
4 |
InternBDB: Magtron 171 0001
|
|
|
|
47 |
696 877 73
|
LED-indicator, yellow |
2 |
InternBDB: Magtron 171 0003
|
|
|
|
48 |
|
LED-indicator, orange |
1 |
|
|
|
|
49 |
795 555 73
|
AC-converter |
1 |
InternBDB: WGLC 1,5/24-230/50 S-rь 230VAC 50HZ24VDC
|
|
|
|
50 |
926 550 40
|
Spotlight assy. consist of fig nos. 28-31 |
2 |
InternKon: 939 881 40 / 6
|
|
|
|
51 |
634 009 40
|
Spotlight |
2 |
InternBDB: AB-05-03 OHNE H1-LAMPE | InternKon: 926 550 40 / 1
|
|
|
|
52 |
507 383 99
|
Halogen lamp |
2 |
InternBDB: H 1 24V70 W DIN 72601 | InternKon: 926 550 40 / 2
|
|
|
|
53 |
769 155 73
|
Seal |
2 |
InternBDB: ABL 18-11401
|
|
|
|
54 |
769 156 73
|
Pane, white |
2 |
InternBDB: ABL 18-10201
|
|
|
|
55 |
319 143 99
|
Screw |
2 |
InternBDB: M 8X 40 8.8 DIN 00912
|
|
|
|
56 |
343 108 99
|
Lock washer |
2 |
InternBDB: A 8 FST DIN 00127
|
|
|
|
57 |
765 688 73
|
Pressure switch |
1 |
InternBDB: Ansul 46 250
|
|
|
|
58 |
|
Electric-Mounting plate - NS |
1 |
|
991-0915 |