|
|
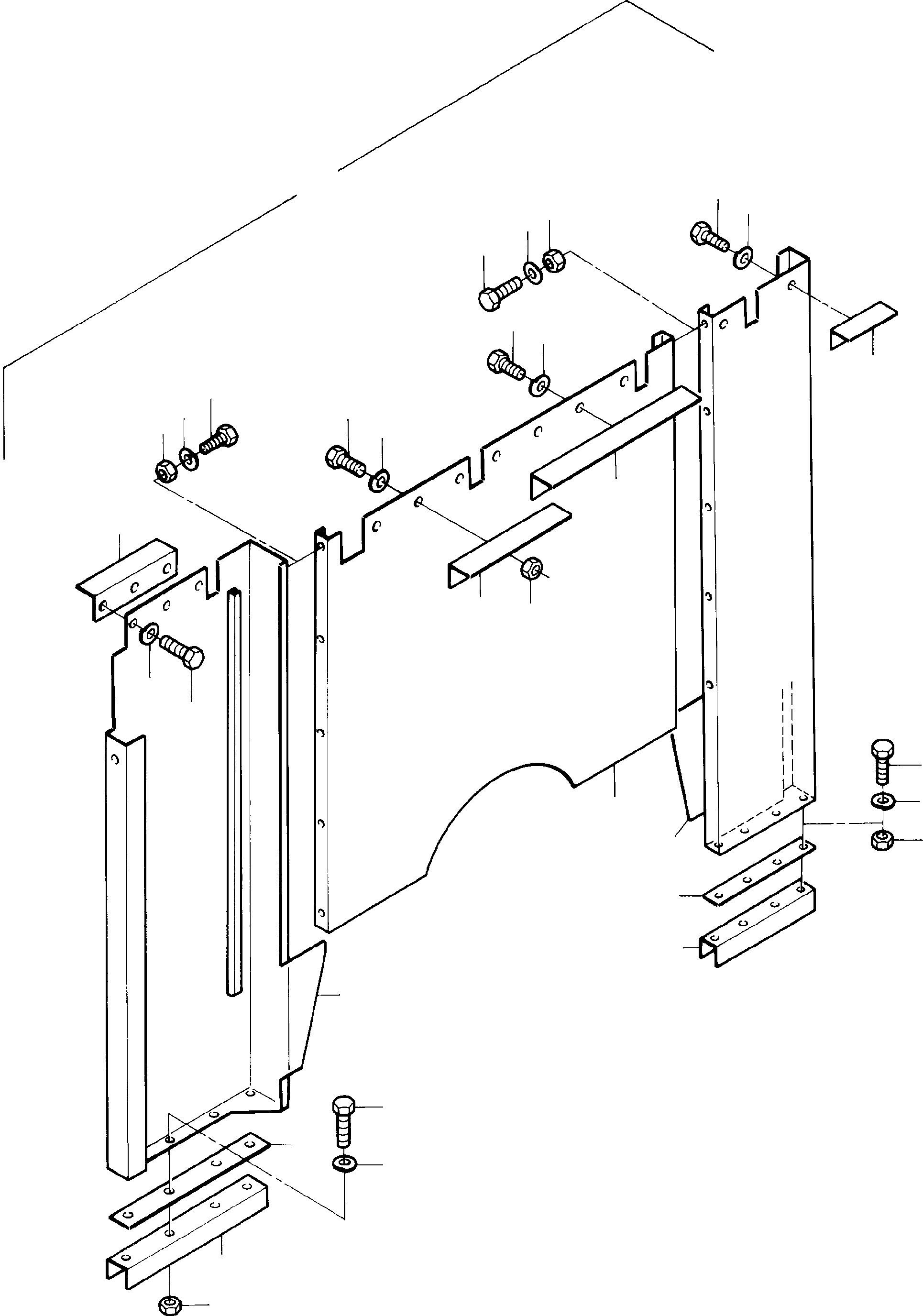
01 |
390 443 40
|
Fire wall, assy. |
1 |
|
|
|
|
02 |
390 441 40
|
Fire wall |
1 |
InternKon: 390 443 40 / 2
|
|
|
|
03 |
390 440 40
|
Fire wall |
1 |
InternKon: 390 443 40 / 3
|
|
|
|
04 |
390 442 40
|
Fire wall |
1 |
InternKon: 390 443 40 / 1
|
|
|
|
05 |
390 436 40
|
Angle bar |
1 |
InternKon: 390 443 40 / 7
|
|
|
|
06 |
390 434 40
|
Angle bar |
1 |
InternKon: 390 443 40 / 9
|
|
|
|
07 |
390 435 40
|
Angle bar |
1 |
InternKon: 390 443 40 / 8
|
|
|
|
08 |
390 437 40
|
Angle bar |
1 |
InternKon: 390 443 40 / 6
|
|
|
|
09 |
307 775 99
|
Bolt |
31 |
InternBDB: M10x20 /933 | InternKon: 390 443 40 / 14
|
|
|
|
10 |
346 500 99
|
Lock washer |
31 |
InternBDB: 10 /128 | InternKon: 390 443 40 / 16
|
|
|
|
11 |
332 197 99
|
Nut |
31 |
InternBDB: M 10 /934 | InternKon: 390 443 40 / 15
|
|
|
|
12 |
390 430 40
|
Metal sheating |
1 |
InternKon: 390 443 40 / 13
|
|
|
|
13 |
390 439 40
|
Channel |
1 |
InternKon: 390 443 40 / 4
|
|
|
|
14 |
390 431 40
|
Metal sheating |
1 |
InternKon: 390 443 40 / 12
|
|
|
|
15 |
390 438 40
|
Channel |
1 |
InternKon: 390 443 40 / 5
|
|