|
|
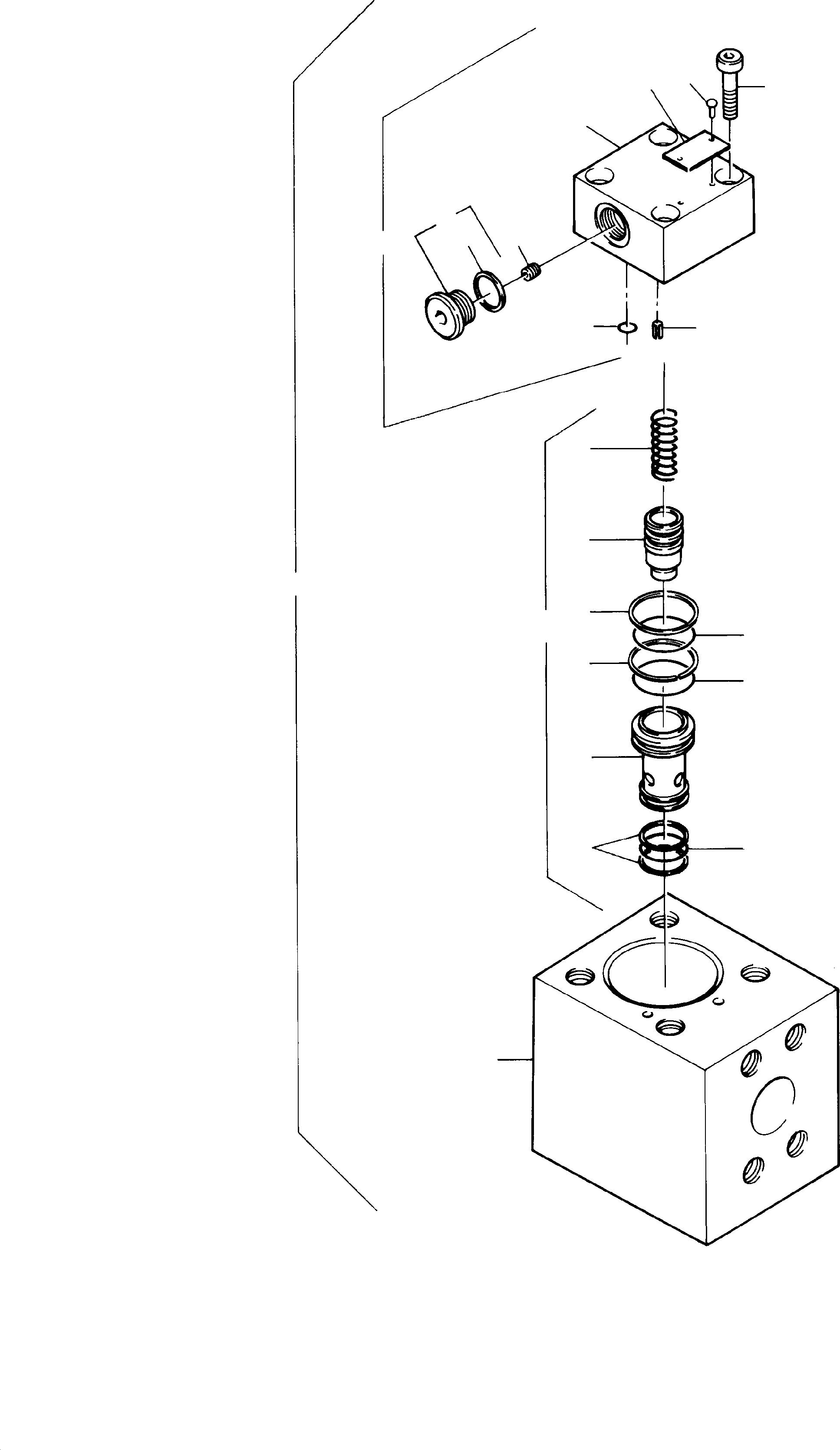
01 |
902 510 40
|
Non-return valve assy.
fig-nos: 02-21 |
1 |
InternBDB: DBM
|
|
|
|
02 |
902 549 40
|
Valve block |
1 |
InternKon: 902 510 40 / 1
|
|
|
|
03 |
440 777 40
|
Cartridge valve assy.
fig-nos: 04-11 |
1 |
InternBDB: Rexroth LC 50 B05 D6X | InternKon: 902 510 40 / 2
|
|
|
|
04 |
976 819 73
|
Back-up ring |
2 |
InternBDB: 001 893 60,88x3
|
|
|
|
05 |
997 628
|
O-ring |
1 |
InternBDB: 008 765 59,92x3,53
|
|
|
|
06 |
|
Valve body
These parts are not sold
separately |
1 |
|
|
|
|
07 |
255 040 40
|
O-ring |
2 |
InternBDB: 008 035 78,75x5,33
|
|
|
|
08 |
976 820 73
|
Back-up ring |
1 |
InternBDB: 001 897 79,83x4,65
|
|
|
|
09 |
976 821 73
|
Back-up ring |
1 |
InternBDB: 153 571 92,1x4,6
|
|
|
|
10 |
|
Valve taper
These parts are not sold
separately |
1 |
|
|
|
|
11 |
696 386 73
|
Compression spring |
1 |
InternBDB: 002 123 36/3,2x130/ 10,5
|
|
|
|
12 |
440 778 40
|
Control cover assy.
fig-nos: 13-21 |
1 |
InternBDB: Rexroth LFA 50 D6X/ FX 30
|
|
|
|
13 |
|
Plug
These parts are not sold
separately |
1 |
|
|
|
|
14 |
|
Shaped seal
These parts are not sold
separately |
1 |
InternBDB: 012 472
|
|
|
|
15 |
696 387 73
|
Standard jet |
1 |
InternBDB: 133 712 1,5-M8x1
|
|
|
|
16 |
501 376 98
|
O-ring |
1 |
InternBDB: 004 489 12,37x2,62
|
|
|
|
17 |
506 288 98
|
Grooved pin |
1 |
InternBDB: 005 079 8x16 /1474
|
|
|
|
18 |
|
Cover
These parts are not sold
separately |
1 |
|
|
|
|
19 |
696 388 73
|
Identification plate |
1 |
InternBDB: 005 158
|
|
|
|
20 |
350 818 99
|
Grooved drive stud |
2 |
InternBDB: 005 106 2x6 /1476
|
|
|
|
21 |
319 314 99
|
Bolt |
4 |
InternBDB: 003 287 M20x70 /912 10.9
|
|
|
|
|$$22 |
696 389 73
|
Seal kit fig-nos. 13 + 16 |
-2 |
InternBDB: 313 863
|
|
|
|
|$$23 |
696 390 73
|
Seal kit fig-nos. 04,05,07-09+16 |
-2 |
InternBDB: 314 056
|
|